Запчасти Case IH ST450 (04-14) - RADIATOR ASSEMBLY (04) - Drive Train

Схема запчастей Case IH ST450 - (04-14) - RADIATOR ASSEMBLY (04) - Drive Train
7
14
5
7
1
2
6
11
3
14
12
8
11
13
10
6
9
15
13
10
13
13
4
FIT
1:1
100%

Артикул

Название

Примечание

Количество

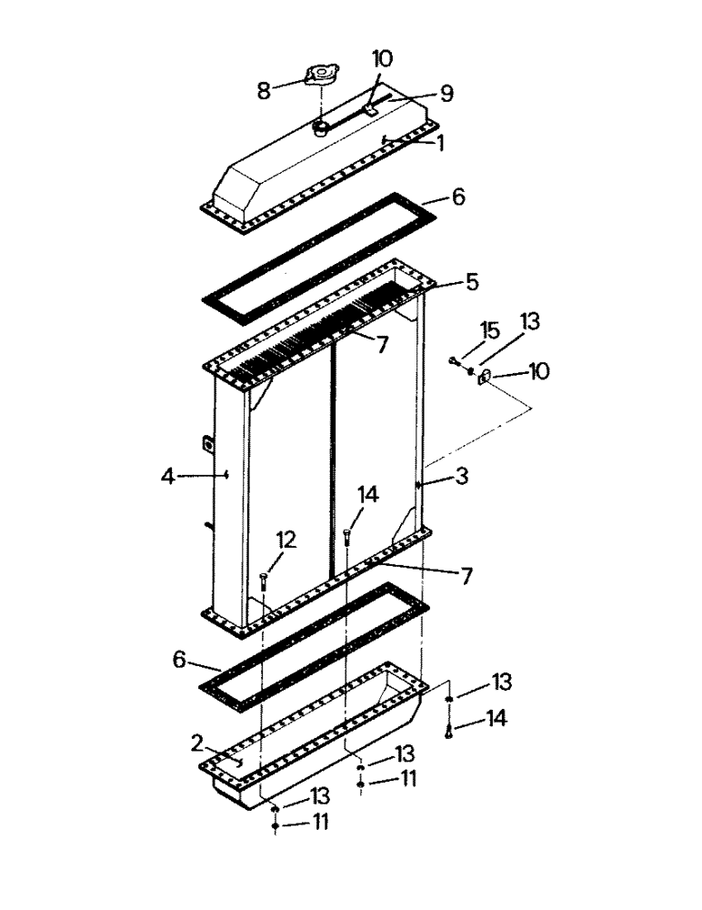
47-4048

Radiator Assy, consists of Ref. 1-14

1шт.

1

2-4348T1

Top Tank

1шт.

2

2-4349T1

Bottom Tank

1шт.

3

2-4350T1

Side Member (Right)

1шт.

4

2-4351T1

Side Member (Left)

1шт.

5

90-1552T1

CORE

Assy

1шт.

6

90-1553T1

GASKET

Header Gasket (order bulk gasket 02-5329T1)

2шт.

7

2-4354T1

BAR

Header Bar

4шт.

8

10-21

CAP

Radiator Cap

1шт.

9

31-1790

HOSE ASSY.

Overflow Hose

1шт.

10

1-2601

CLIP

3шт.

11

19-77

NUT,5/16"-18, G5

84шт.

12

19-234

BOLT,Hex, 5/16" - 18 x 1 1/4", Gr 5

Capscrew

24шт.

13

19-116

LOCK WASHER,5/16"

5/16"

116шт.

14

19-7

BOLT,Hex, 5/16" - 18 x 1", Gr 5

Capscrew

88шт.

15

19-6

BOLT,5/16" - 18 x 3/4", Gr 5

Capscrew

4шт.

Выбрано товаров: 16