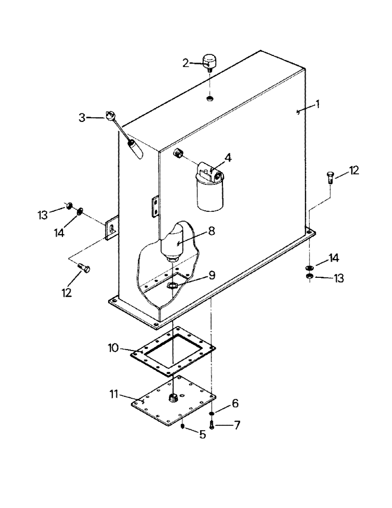
Запчасти Case IH ST450 (08-06) - HYDRAULIC RESERVOIR (07) - HYDRAULICS

Схема запчастей Case IH ST450 - (08-06) - HYDRAULIC RESERVOIR (07) - HYDRAULICS
3
1
4
13
6
9
1
12
14
11
5
8
1
7
13
2
14
FIT
1:1
100%

Артикул

Название

Примечание

Количество

47-3586T91

Hydraulic Reservoir Assy, consists of Ref. 1-11

1шт.

1

47-3585

Hydraulic Reservoir

1шт.

2

50-1154T1

BREATHER

Filter

1шт.

3

47-3580

DIPSTICK

1шт.

4

18-497

FILTER

Assy (order separately if not available)

1шт.

50-2602T1

HEAD

Filter Head

1шт.

18-498

FILTER, ENGINE OIL

Filter Element

1шт.

5

31-35

PLUG

Pipe Plug

1шт.

6

19-5566

SEALING WASHER

Washer

14шт.

7

19-18

BOLT,Hex, 3/8" - 16 x 1 1/4", Gr 5

Capscrew

14шт.

8

18-496

FILTER SCREEN

Suction Filter (order 50-1509T1 or 50-2029T1 if not available)

1шт.

9

19-953

LOCK NUT

Lock Nut

1шт.

10

51-433

GASKET

1шт.

11

47-3569

Cover Plate

1шт.

12

19-394

BOLT,Hex, 3/4" - 10 x 2", Gr 5

Capscrew

6шт.

13

19-84

NUT,3/4"-10, G5

6шт.

14

19-112

WASHER,3/4"

6шт.

Выбрано товаров: 17