Запчасти Case IH STEIGER (5-002) - STEERING WHEEL AND COLUMN (05) - STEERING

Схема запчастей Case IH STEIGER - (5-002) - STEERING WHEEL AND COLUMN (05) - STEERING
41
20
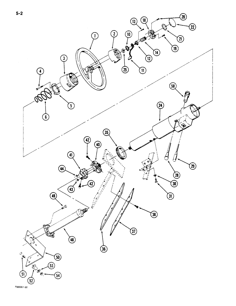
58
37
12
38
48
40
52
51
53
14
24
3
31
36
50
10
30
5
1
35
19
4
28
18
54
25
22
2
49
44
29
42
6
13
43
21
42
11
FIT
1:1
100%

Артикул

Название

Примечание

Количество

2-3755T92

STEERING WHEEL

WHEEL ASSEMBLY - steering, Includes Ref: 1-6

1шт.

1

60-1827T2

WHEEL (STEERING)

WHEEL - steering

1шт.

2

60-1828T1

CAP

COVER - hub, upper

1шт.

3

60-1829T1

COVER

- hub, lower

1шт.

4

19-5791

SELF-TAP SCREW,Cross Pan Hd, #6 x 1 1/4"

SCREW - tapping, pan head, No.6 x 1-1/4 inch

2шт.

5

60-1830T1

RETAINER

- spring

1шт.

6

60-1831T1

SPRING

- compression telescoping

1шт.

10

18-1570

RING, SNAP

RETAINER - nut, locking

1шт.

11

60-1951T1

CONTROL LEVER

LEVER - release, telescoping

1шт.

12

18-1565

LOCK SCREW,5/16" - 18 x 0.95"

SCREW - release, telescoping

1шт.

13

488-1104

SCREW,Cross Flat Hd, #10-32 x 1/4"

- machine, flat head, No.10 NF x 1/4 inch

2шт.

14

60-1820T1

SPRING

- horn button

1шт.

18

60-1819T1

PLATE

- base

1шт.

19

9414743

SCREW,Tap, Gr 5

- tapping, pan head, No.10 x 5/8 inch

3шт.

20

260-14436

SELF-TAP SCREW,Cross Pan Hd, #8 x 2 1/4"

SCREW - tapping, pan head, No.8 x 2-1/4 inch

1шт.

21

60-1821T1

CUPEL

CONTACT - horn

1шт.

22

60-5911T1

BUTTON

- horn

1шт.

24

REF

INSTRUCTION

COLUMN ASSEMBLY - steering (See Figure: 5-4), Includes Ref: 25

1шт.

25

19-1026

JAM NUT,9/16" - 18, Gr 5

- hex, 9/16 inch NF

1шт.

28

18-1567T1

CONTROL LEVER

LEVER - tilt actuating

1шт.

29

1-4188T1

CONTROL LEVER

LEVER - blinker, wiper, washer and hi-low beam

1шт.

30

19-700

WASHER,5/16"

- flat, 5/16 x 7/8 x 5/64 inch

4шт.

31

40-1231

BOLT,Hex, M8 x 1.25 x 16mm, Gr 8.8

BOLT- hex, M8 x 1.25 x 18 mm

4шт.

35

32-327

GROMMET

- column

1шт.

36

60-4751T1

SEAL

- steering column access

1шт.

37

60-4459T1

COVER

PLATE - cover, access

1шт.

38

281-13712

SELF-TAP SCREW,Hex Wash Hd, 1/4" x 3/4"

SCREW - tapping, flanged head, 1/4 NC x 3/4 inch

6шт.

60-4390T91

COUPLING

COUPLER ASSEMBLY - steering, Includes Ref: 40-44

1шт.

40

60-4436T1

FLANGE

- coupling, column

1шт.

41

60-4437T1

FLANGE

- coupling, steering shaft

1шт.

42

CAS7807271

SCREW

- 12 point, locking

2шт.

43

451399

NUT,5/16"-18, G5, Hvy

- hex, 5/16 inch NF

1шт.

44

9420821

NUT

- hex, 3/8 inch NF

1шт.

48

60-4230T1

STEERING COLUMN

SHAFT ASSEMBLY - steering

1шт.

49

19-17

BOLT,Hex, 3/8" - 16 x 1", Gr 5, Full Thd

- hex, 3/8 NC x 1 inch

4шт.

50

60-4231T1

SUPPORT

BRACKET - mounting, steering shaft

1шт.

51

19-19

BOLT,Hex, 3/8" - 16 x 1 1/2", Gr 5

- hex, 3/8 NC x 1-1/2 inch

3шт.

52

196504C1

BUSHING

MOUNT - isolator, rubber

3шт.

53

19-107

WASHER

- flat, 3/8 x 1 x 5/54 inch

3шт.

54

232-4136

LOCK NUT,3/8"-16, GC

NUT - hex, lock, 3/8 inch NC

3шт.

58

22-752T1

IGNITION SWITCH

LOCK ASSEMBLY - ignition (See Note)

1шт.

Выбрано товаров: 41