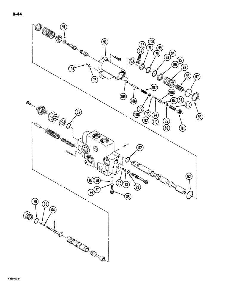
Запчасти Case IH STEIGER (8-044) - HYDRAULIC REMOTE VALVE SECTION, FIRST, SECOND, THIRD AND FOURTH WITH FLOAT (08) - HYDRAULICS

Схема запчастей Case IH STEIGER - (8-044) - HYDRAULIC REMOTE VALVE SECTION, FIRST, SECOND, THIRD AND FOURTH WITH FLOAT (08) - HYDRAULICS
94
65
95
70
71
106
104
96
66
84
112
89
65
88
105
67
62
90
108
64
78
68
62
74
99
111
91
69
109
110
98
113
75
76
85
107
77
72
100
97
79
64
75
92
63
93
73
83
FIT
1:1
100%

Артикул

Название

Примечание

Количество

50-2388T1

SEAL KIT

SEAL KIT - detent, primary and secondary, Includes Ref: 62-79

1шт.

62

NSS

NOT SOLD SEPARAT

O-RING - seal, spool

2шт.

63

NSS

NOT SOLD SEPARAT

O-RING - seal, detent housing

1шт.

64

NSS

NOT SOLD SEPARAT

O-RING - seal

2шт.

65

NSS

NOT SOLD SEPARAT

RING - backup

2шт.

66

NSS

NOT SOLD SEPARAT

O-RING - plug

1шт.

67

NSS

NOT SOLD SEPARAT

BALL - steel

8шт.

68

NSS

NOT SOLD SEPARAT

O-RING - seal, kickout piston

1шт.

69

NSS

NOT SOLD SEPARAT

RING - backup

1шт.

70

NSS

NOT SOLD SEPARAT

O-RING - seal, kickout piston

1шт.

71

NSS

NOT SOLD SEPARAT

RING - backup

1шт.

72

NSS

NOT SOLD SEPARAT

WASHER - spring

1шт.

73

NSS

NOT SOLD SEPARAT

O-RING - seal, poppet

1шт.

74

NSS

NOT SOLD SEPARAT

RING - backup

1шт.

75

NSS

NOT SOLD SEPARAT

O-RING - seal

3шт.

76

NSS

NOT SOLD SEPARAT

O-RING - seal, shuttle, secondary

1шт.

77

NSS

NOT SOLD SEPARAT

O-RING - seal, shuttle, secondary

1шт.

78

NSS

NOT SOLD SEPARAT

O-RING - seal, shuttle, primary

1шт.

79

NSS

NOT SOLD SEPARAT

O-RING - seal, shuttle, primary

1шт.

50-1649T91

PLUG

ASSEMBLY - shuttle, secondary, Includes Ref: 83, 84

1шт.

50-1654T1

SEAL KIT

KIT - secondary shuttle, Includes Ref: 83, 84

1шт.

83

NSS

NOT SOLD SEPARAT

O-RING - seal, shuttle, secondary

1шт.

84

NSS

NOT SOLD SEPARAT

O-RING - seal, shuttle, secondary

1шт.

85

NSS

NOT SOLD SEPARAT

PLUG ASSEMBLY - secondary shuttle

1шт.

50-2378T91

HOUSING

ASSEMBLY - detent, Includes Ref: 88-113

1шт.

88

NSS

NOT SOLD SEPARAT

O-RING - seal, poppet

1шт.

89

NSS

NOT SOLD SEPARAT

RING - backup

1шт.

90

NSS

NOT SOLD SEPARAT

HOUSING - detent

1шт.

91

50-2379T1

WASHER

- guide

1шт.

92

NSS

NOT SOLD SEPARAT

BALL - steel

8шт.

93

50-2380T1

PISTON

- kickout

1шт.

94

NSS

NOT SOLD SEPARAT

O-RING - seal, piston

1шт.

95

NSS

NOT SOLD SEPARAT

RING - backup

1шт.

96

50-2381T1

RING, SNAP

RING - snap

1шт.

97

50-2382T1

RETAINER

- piston

1шт.

98

50-2383T1

SPRING

- detent

1шт.

99

NSS

NOT SOLD SEPARAT

O-RING - seal, piston

1шт.

100

NSS

NOT SOLD SEPARAT

RING - backup

1шт.

104

50-1663T1

PLUG

- orifice

1шт.

105

50-1668T1

SEAT

- poppet

1шт.

106

NSS

NOT SOLD SEPARAT

POPPET - relief

1шт.

107

NSS

NOT SOLD SEPARAT

SPRING - poppet

1шт.

108

NSS

NOT SOLD SEPARAT

WASHER - spring

1шт.

109

50-2384T1

GOVERNOR

PISTON - regulator

1шт.

110

50-1717T1

SET SCREW

- set, slotted

1шт.

111

19-868

JAM NUT,Jam, 3/8"-24, G5

- hex, jam, 3/8 inch NF

1шт.

112

NSS

NOT SOLD SEPARAT

O-RING - seal, poppet

1шт.

113

NSS

NOT SOLD SEPARAT

RING - backup

1шт.

Выбрано товаров: 48