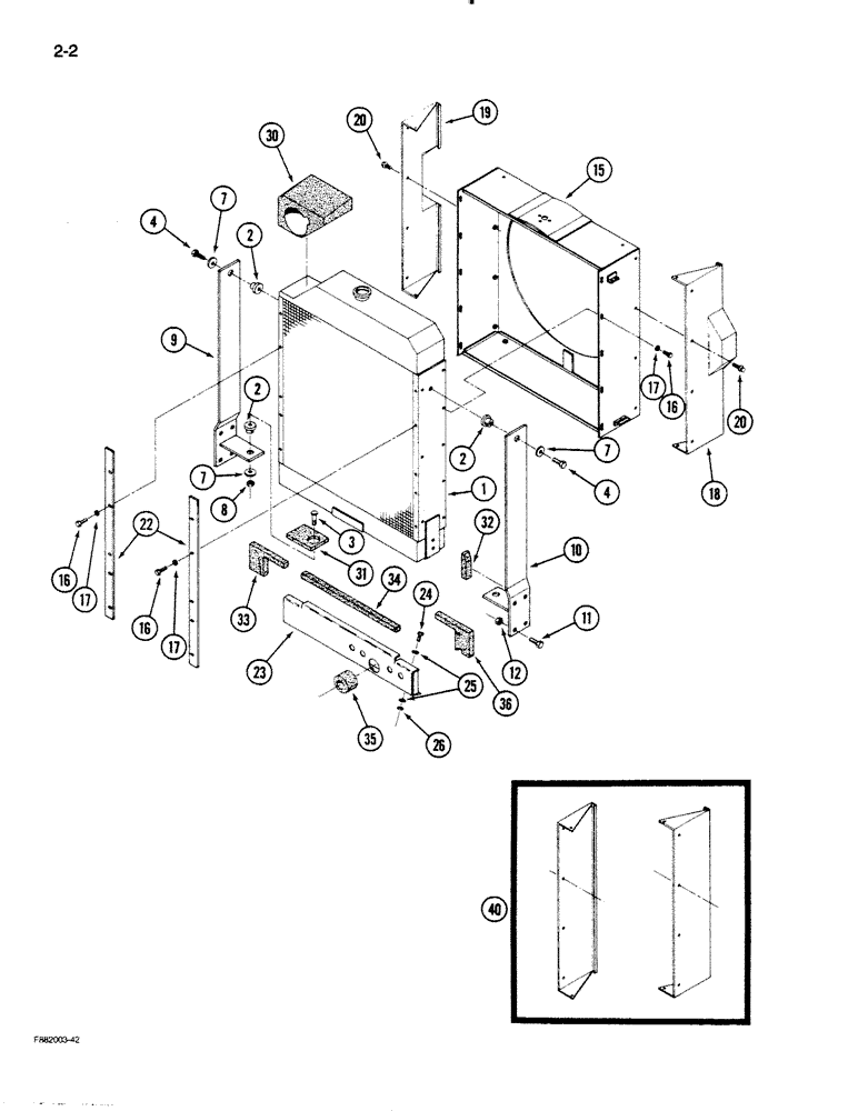
Запчасти Case IH STEIGER (2-002) - RADIATOR MOUNTING (02) - ENGINE

Схема запчастей Case IH STEIGER - (2-002) - RADIATOR MOUNTING (02) - ENGINE
4
15
7
30
32
23
4
16
33
8
12
26
9
2
7
20
17
20
36
34
40
22
17
1
10
17
7
24
31
16
16
2
18
25
35
3
2
19
11
FIT
1:1
100%

Артикул

Название

Примечание

Количество

1

REF

INSTRUCTION

RADIATOR ASSEMBLY - cooling system (See Figures: 2-4, 2-6)

1шт.

2

CASL13142

BUSHING

MOUNT - isolator, rubber

4шт.

3

19-6177

CARRIAGE BOLT,Sq Nk, 1/2" - 13 x 2", Gr 5

BOLT - round head square neck, 1/2 NC x 2 inch

2шт.

4

19-45

BOLT,1/2" - 13 x 1 1/2", Gr 5

- hex, 1/2 NC x 1-1/2 inch

2шт.

7

19-961

WASHER,17/32" x 1 1/2" x 1/8"

- flat, 1/2 x 1-3/4 x 1/8 inch

4шт.

8

19-81

NUT,1/2"-13, G5

- hex, 1/2 inch NC

2шт.

9

90-5820T1

SUPPORT

MOUNT - radiator, right side

1шт.

10

90-5821T1

SUPPORT

MOUNT - radiator, left side

1шт.

11

113-607

BOLT,Hex, 5/8" - 11 x 1-1/2", Gr 5, Full Thd

8шт.

12

19-83

NUT,5/8"-11, G5

- hex, 5/8 inch NC

8шт.

15

90-6380T1

SHROUD

- radiator and fan

1шт.

16

19-717

BOLT,Hex, 1/4" - 20 x 5/8", Gr 5, Full Thd

- hex, 1/4 NC x 5/8 inch

20шт.

17

195-102

WASHER,1/4"

- flat, 1/4 x 3/4 x 1/16 inch

20шт.

18

90-6382T1

GUARD

- belt, left side, L10 engine

1шт.

19

90-6381T1

GUARD ASSY.

GUARD - belt, right side, L10 engine

1шт.

20

19-5852

FLANGE BOLT,Hex, 1/4" - 20 x 3/4", Gr 5

BOLT - flanged, 1/4 NC x 3/4 inch

12шт.

22

90-5761T2

SEALING STRIP

- air flow, sides

2шт.

23

90-5973T1

PANEL

SHROUD - air flow, bottom

1шт.

24

113-208

BOLT,Hex, 3/8" - 16 x 1-1/4", Gr 5

4шт.

25

19-107

WASHER

- flat, 3/8 x 1 x 5/64 inch

8шт.

26

129-103

NUT,Hex, 3/8" - 16, Gr 5

NUT, 3/8"-16, G5

4шт.

30

90-5713T1

SEAL

- radiator, upper right

1шт.

31

90-5714T1

SEAL

- radiator, radiator supports

2шт.

32

90-5715T1

SEAL

- radiator, lower corners

2шт.

33

90-5964T1

FOAM

SEAL - radiator, left lower shroud

2шт.

34

90-5965T1

FOAM

SEAL - radiator, bottom

1шт.

35

90-5966T1

SEAL

SEAL - shroud, lower

1шт.

36

90-6316T1

SEAL

- radiator, right lower shroud

1шт.

40

90-5824T3

GUARD

- belt, sides, 3306 engine

2шт.

Выбрано товаров: 0