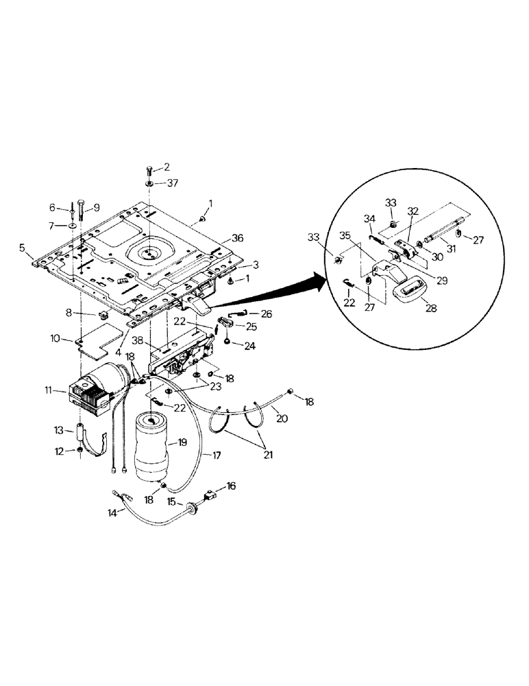
Запчасти Case IH STEIGER (01-23) - SEAT ASSEMBLY, COMPRESSOR AND MOUNTING (10) - CAB

Схема запчастей Case IH STEIGER - (01-23) - SEAT ASSEMBLY, COMPRESSOR AND MOUNTING (10) - CAB
7
16
8
25
19
37
2
4
1
30
22
18
11
14
38
27
26
18
23
28
32
27
21
34
31
24
22
10
9
35
17
12
18
20
33
15
13
1
29
5
22
3
6
36
18
33
FIT
1:1
100%

Артикул

Название

Примечание

Количество

1

60-1613T1

FASTENER

Clip

12шт.

Part of P/N 60-4896T91 Compressor Assy.

1шт.

Part of P/N 60-4909T91 Compressor Wire Harness Assy.

1шт.

Part of P/N 60-4900T91 Air Spring Assy.

1шт.

Part of P/N 60-4886T91 Stop Assy.

1шт.

Part of P/N 60-4890T91 Carrier Assy.

1шт.

Part of P/N 60-4894T91 Slide Bar Mount Assy.

1шт.

2

40-1231

BOLT,Hex, M8 x 1.25 x 16mm, Gr 8.8

Capscrew

1шт.

Part of P/N 60-4900T91 Air Spring Assy.

1шт.

3

60-4913T1

PLATE

Strip

1шт.

4

60-4912T1

PLATE

Strip

1шт.

5

60-1632T1

PLATE

Strip

1шт.

6

1-2503

RIVET,Pop, .146" x .425"

Pop Rivet

1шт.

Part of P/N 60-4896T91 Compressor Assy.

1шт.

Part of P/N 60-4909T91 Compressor Wire Harness Assy.

1шт.

Part of P/N 60-4900T91 Air Spring Assy.

1шт.

Part of P/N 60-4886T91 Stop Assy.

1шт.

Part of P/N 60-4894T91 Slide Bar Mount Assy.

1шт.

7

19-699

WASHER,3/16"

1шт.

Part of P/N 60-4896T91 Compressor Assy.

1шт.

Part of P/N 60-4909T91 Compressor Wire Harness Assy.

1шт.

Part of P/N 60-4900T91 Air Spring Assy.

1шт.

Part of P/N 60-4894T91 Slide Bar Mount Assy.

1шт.

8

60-4881T1

CLIP,ELECTRICAL

Cable Clip

2шт.

Part of P/N 60-4894T91 Slide Bar Mount Assy.

1шт.

9

40-1234

CAPSCREW,Hex, M6 x 75mm, Gr 8.8

1шт.

Part of P/N 60-4896T91 Compressor Assy.

1шт.

10

60-4880T1

SEAL, RUBBER

Foam

1шт.

Part of P/N 60-4896T91 Compressor Assy.

1шт.

11

60-4896T91

COMPRESSOR

Assy., Includes Refs. 1, 6, 7, 9, 10, 12, 13, 18, 21 and 28

1шт.

12

40-1235

LOCK NUT

Nut

1шт.

Part of P/N 60-4896T91 Compressor Assy.

1шт.

13

60-4897T1

BRACKET

Mounting bracket

1шт.

Part of P/N 60-4896T91 Compressor Assy.

1шт.

14

60-4909T91

HARNESS

Compressor Wire Harness Assy., Includes Refs. 1, 6, 7, 15, 16, 21 and 28

1шт.

15

NSS

NOT SOLD SEPARAT

Grommet

1шт.

Part of P/N 60-4909T91 Compressor Wire Harness Assy.

1шт.

16

NSS

NOT SOLD SEPARAT

Connector

1шт.

Part of P/N 60-4909T91 Compressor Wire Harness Assy.

1шт.

17

60-4898T1

HOSE,450.00 mm

1шт.

18

60-4895T1

CLAMP

5шт.

Part of P/N 60-4896T91 Compressor Assy.

1шт.

Part of P/N 60-4900T91 Air Spring Assy.

1шт.

Part of P/N 60-4894T91 Slide Bar Mount Assy.

1шт.

19

60-4900T91

SPRING

Air Spring Assy., Includes Refs. 1, 2, 6, 7, 18, 28 and 37, also includes ref. 1, 22 and 27 on Figure 01-22

1шт.

20

60-4899T1

HOSE

1шт.

21

22-824

CABLE TIE,3/16" x 7 1/4"

STRAP, CABLE, 3/16" x 7 1/4"

2шт.

Part of P/N 60-4896T91 Compressor Assy.

1шт.

Part of P/N 60-4909T91 Compressor Wire Harness Assy.

1шт.

22

604883T1

Spring

2шт.

Part of P/N 60-4886T91 Stop Assy.

1шт.

Part of P/N 60-4890T91 Carrier Assy.

1шт.

Part of P/N 60-4894T91 Slide Bar Mount Assy.

1шт.

23

60-4882T1

RING, SNAP

Retainer

2шт.

Part of P/N 60-4894T91 Slide Bar Mount Assy.

1шт.

24

NSS

NOT SOLD SEPARAT

Bushing

1шт.

Part of P/N 60-4886T91 Stop Assy.

1шт.

25

60-4886T91

STOP

Assy., Includes Refs. 1, 6, 22, 24, 26, 27, 28 and 33

1шт.

26

60-4889T1

SPRING

1шт.

Part of P/N 60-4886T91 Stop Assy.

1шт.

27

40-1157

RING

Retaining Ring

2шт.

Part of P/N 60-4886T91 Stop Assy.

1шт.

Part of P/N 60-4890T91 Carrier Assy.

1шт.

28

60-4884T1

HANDLE

1шт.

Part of P/N 60-4896T91 Compressor Assy.

1шт.

Part of P/N 60-4909T91 Compressor Wire Harness Assy.

1шт.

Part of P/N 60-4900T91 Air Spring Assy.

1шт.

Part of P/N 60-4886T91 Stop Assy.

1шт.

Part of P/N 60-4894T91 Slide Bar Mount Assy.

1шт.

29

NSS

NOT SOLD SEPARAT

Ratchet

1шт.

Part of P/N 60-4890T91 Carrier Assy.

1шт.

30

60-4892T1

WASHER

1шт.

Part of P/N 60-4890T91 Carrier Assy.

1шт.

31

NSS

NOT SOLD SEPARAT

Pivot Shaft

1шт.

Part of P/N 60-4890T91 Carrier Assy.

1шт.

32

NSS

NOT SOLD SEPARAT

Angle

1шт.

Part of P/N 60-4890T91 Carrier Assy.

1шт.

33

60-4887T1

FLANGED BEARING

BEARING, Flanged

2шт.

Part of P/N 60-4886T91 Stop Assy.

1шт.

Part of P/N 60-4890T91 Carrier Assy.

1шт.

34

60-4891T1

SPRING

1шт.

Part of P/N 60-4890T91 Carrier Assy.

1шт.

35

60-4890T91

SLIDE

Carrier Assy., Includes Refs. 1, 22 and 27 - 34

1шт.

36

60-4877T91

SEAT

Upper Seat Mount, Includes Ref. 8

1шт.

37

40-1154

LOCK WASHER

Lock Washer

1шт.

Part of P/N 60-4900T91 Air Spring Assy.

1шт.

38

60-4894T91

SLIDE

Bar Mount Assy., Includes Refs. 1, 6, 7, 8, 18, 22, 23 and 28, also includes Ref. 21, 22 and 27 on Figure 01-22

1шт.

Выбрано товаров: 87