Запчасти Case IH STEIGER (02-10) - INSTRUMENT PANEL & MOUNTING (06) - ELECTRICAL

Схема запчастей Case IH STEIGER - (02-10) - INSTRUMENT PANEL & MOUNTING (06) - ELECTRICAL
6
16
5
11
2
8
12
8
9
20
15
17
3
6
1
5
9
12
10a
7
12
4
1
18
14
7
19
15
13
4
10
6
5
FIT
1:1
100%

Артикул

Название

Примечание

Количество

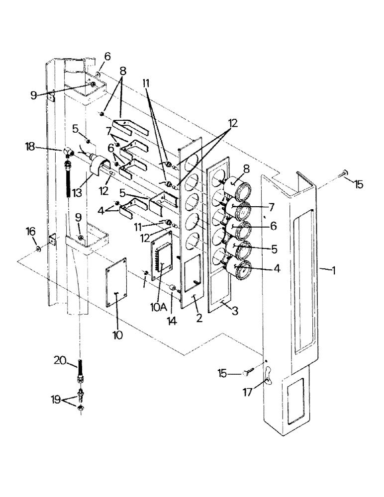
1

60-1128T3

COVER

1шт.

60-5751T91

PANEL

Assy (w/o 3-Pt Hitch), consists of Refs. 2-13

1шт.

60-5750T91

PANEL

Assy (w/3-Pt Hitch), consists of Refs. 2-14

1шт.

2

60-2098T3

PANEL

1шт.

3

60-1109T1

DECAL

1шт.

4

20-1306T1

GAUGE

Engine Water Temp Gauge

1шт.

5

20-2422T1

GAUGE

Engine Oil Press. Gauge

1шт.

6

1-8609

GAUGE

Fuel Gauge

1шт.

7

22-743

GAUGE

Voltmeter

1шт.

8

20-2018T1

HOURMETER

1шт.

9

9411893

LOCK NUT,#10-32, GB

#10 UNF G-A

8шт.

10

60-2131T1

LARGE PLATE

Display Module (w/o 3-Pt Hitch)

1шт.

10a

20-1843T1

BOARD, PRINTED CIRCU

Display Module (w/3-Pt Hitch)

1шт.

11

20-2432T1

HARNESS

Instrument Panel Wire Harness

1шт.

12

22-717

LAMP

Bulb (#1893)

4шт.

13

20-2423T1

LIGHT ASSY.

Light Assy

1шт.

14

19-6069

SPACER

(with 3-Pt Hitch)

4шт.

15

19-5835

CLIP

4шт.

16

19-5668

WASHER

1/4 x 3/4 x 3/16 Thk

11шт.

17

60-3742T1

FOAM

1шт.

18

31-2237

ELBOW,90 Degree, 7/16"-20, 37 Degree x 1/8"-27, Fem NPTF

1/8 NPT Female x 7/16-20 JIC 37 Deg. Male

1шт.

19

31-1391

FITTING,Blkhd, 7/16"-20, 37 Degree x 7/16"-20, 37 Degree

Bulkhead Fitting, 7/16-20 JIC 37deg. Male x 7/16-20 JIC 37 Deg. Male

1шт.

20

31-2714

HOSE ASSY.

Hose

1шт.

Выбрано товаров: 23