Запчасти Case IH STEIGER (02-14) - ELECTRONIC CONTROL CENTER ASSEMBLY (06) - ELECTRICAL

Схема запчастей Case IH STEIGER - (02-14) - ELECTRONIC CONTROL CENTER ASSEMBLY (06) - ELECTRICAL
12
3
16
18
19
20
8
10
5
9
24
24
14
4
7
10
1
21
11
17
6
10
15
32
2
13
22
FIT
1:1
100%

Артикул

Название

Примечание

Количество

20-2393T91

BOX

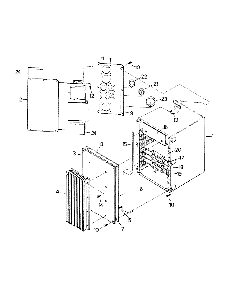
Electronic Control Center Assy (Control Center Sub-Assy P/N 20-1842T92, Includes: Ref. 1, 2, 9, 10, 11, 12, 14, 20, 21, 22 and 23, consists of Refs. 1-24

1шт.

1

NSS

NOT SOLD SEPARAT

Enclosure

1шт.

Part of P/N 20-2393T91 Electronic Control Center Assy.

1шт.

2

NSS

NOT SOLD SEPARAT

Mother Board Assy

1шт.

Part of P/N 20-2393T91 Electronic Control Center Assy.

1шт.

60-2102T91

COVER

Assy, consists of Refs. 3-8

1шт.

3

60-2102T91

COVER

Plate (Replaces 60-2104T2)

1шт.

4

60-2101T1

PLATE ASSY.

Heat Sink

1шт.

5

19-1014

SCREW,#10 - 24 x 3/8"

Machine Screw, #10 UNF x 3/8

6шт.

6

60-2100T1

Card Retainer

1шт.

Part no. 60-2100T1 is 1-1/4" square 7" long, foam. cut from bulk foam.

1шт.

7

60-3112T1

GASKET

Gasket

2шт.

8

60-3161T1

GASKET

Gasket

2шт.

9

2-5026T2

Connector Plate

1шт.

Part of P/N 20-2393T91 Electronic Control Center Assy.

1шт.

10

160045

SCREW,Cross Pan Hd, #10 - 32 x 1/2"

Machine Screw, #10 UNF x 1/2

16шт.

Part of P/N 20-2393T91 Electronic Control Center Assy.

1шт.

11

19-6090

Tapping Screw, #8 UNS x 1/2

28шт.

Part of P/N 20-2393T91 Electronic Control Center Assy.

1шт.

12

19-5804

SELF-TAP SCREW,Cross Pan Hd, #6 x 1/2"

Tapping Screw, #6 UNS x 1/2

6шт.

Part of P/N 20-2393T91 Electronic Control Center Assy.

1шт.

13

159943

SCREW,Cross Pan Hd, #10 - 24 x 5/8"

Machine Screw, #10 UNC x 5/8

2шт.

14

2-5229T1

Decal

1шт.

Part of P/N 20-2393T91 Electronic Control Center Assy.

1шт.

15

20-2147R1

SUPPORT

PSC (Card #1)

1шт.

16

20-1998T1

BOARD, PRINTED CIRCU

DDC (Card #6)

1шт.

17

20-1276T3

BOARD, PRINTED CIRCU

VWS (Card #7)

1шт.

18

20-2392T1

BOARD, PRINTED CIRCU

UMCM (Card #8)

1шт.

19

20-1712T1

BOARD, PRINTED CIRCU

TDC (Card #5)

1шт.

20

31-2163

Closure Cap

1шт.

Part of P/N 20-2393T91 Electronic Control Center Assy.

1шт.

21

31-2164

Closure Cap

3шт.

Part of P/N 20-2393T91 Electronic Control Center Assy.

1шт.

22

31-2165

Closure Cap

3шт.

Part of P/N 20-2393T91 Electronic Control Center Assy.

1шт.

23

60-3162T1

Foam

2шт.

Part of P/N 20-2393T91 Electronic Control Center Assy.

1шт.

24

25-1000015

PASTE

Thermal Paste (not shown)

1шт.

Выбрано товаров: 38