Запчасти Case IH STEIGER (6-36) - TRANSMISSION SHIFT CONTROLS, PULSER CONTROL, PRIOR TO P.I.N. JCB0002116 (06) - POWER TRAIN

Схема запчастей Case IH STEIGER - (6-36) - TRANSMISSION SHIFT CONTROLS, PULSER CONTROL, PRIOR TO P.I.N. JCB0002116 (06) - POWER TRAIN
16
5
10
6
13
7
15
3
1
9
15
12
4
8
13
6
11
12
2
14
FIT
1:1
100%

Артикул

Название

Примечание

Количество

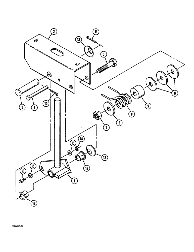
60-4447T93

CONTROL

- pulser, upshift or downshift, Includes Ref: 1-16

1шт.

1

60-4509T2

CONTROL

LEVER - pulser

1шт.

2

60-4510T2

FRAME

- pulser control mounting

1шт.

3

H382416

CLEVIS PIN

PIN - clevis, 1/2 x 2-1/4 inch

1шт.

4

S10725

PIN

- clevis, 1/4 x 2-1/4 inch

1шт.

5

19-20

BOLT,Hex, 3/8" - 16 x 1 3/4", Gr 5

- hex, 3/8 NC x 1-3/4 inch

1шт.

6

19-6192

WASHER - flat, 3/8 x 1-1/4 x 7/64 inch thick

4шт.

7

232-4136

LOCK NUT,3/8"-16, GC

NUT - lock, 3/8 inch NC

1шт.

8

70-4486T2

SPRING

- return

1шт.

9

60-4511T2

SPACER

- spring

1шт.

10

113-3100

PIN - cotter, 1/16 x 1/2 inch

1шт.

11

113-368

BOLT,Hex, 3/8" - 16 x 4", Gr 5, Full Thd

PIN - cotter, 1/8 x 1 inch

1шт.

12

24-206

BEARING CONE,0.5" ID x 0.75" OD x 0.3"

BEARING - flanged

2шт.

13

19-6034

SPRING WASHER

- spring, 1/2 x 1 x 1/64 inch thick

2шт.

14

113-3015

NUT - keps, No. 8 NC

1шт.

15

446143

WASHER

- flat, No. 8

2шт.

16

20-1316T1

ACTUATOR

- pulser

1шт.

Выбрано товаров: 0