Запчасти Case IH STEIGER (7-04) - PARK BRAKE CONTROLS (07) - BRAKES

Схема запчастей Case IH STEIGER - (7-04) - PARK BRAKE CONTROLS (07) - BRAKES
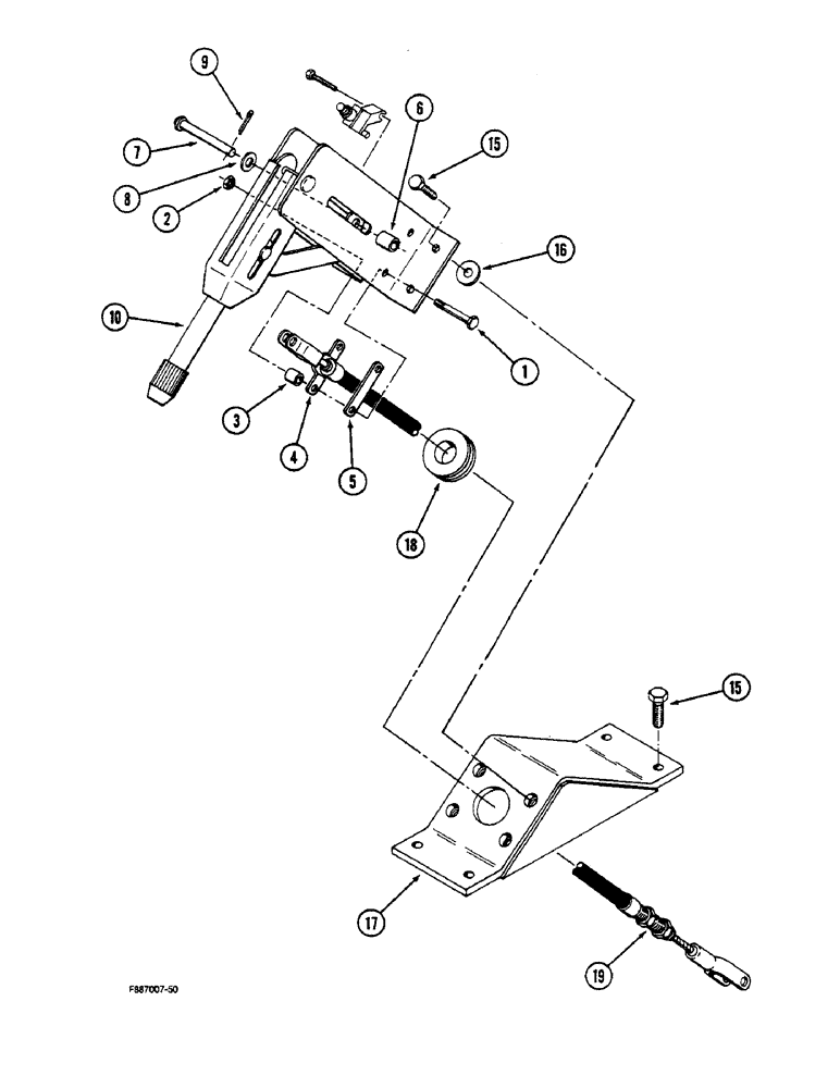
15
9
5
4
7
6
16
3
10
8
17
1
18
2
15
19
FIT
1:1
100%

Артикул

Название

Примечание

Количество

60-5017T91

LEVER ASSY.

LEVER ASSEMBLY - park brake, Includes Ref: 1-10

1шт.

1

19-8

BOLT,5/16" - 18 x 1 1/2", Gr 5

- hex, 5/16 NC x 1-1/2 inch

2шт.

2

19-77

NUT,5/16"-18, G5

- hex, 5/16 inch NC

2шт.

3

19-6062

SPACER

- 5/16 x 1/2 x 9/16 inch

2шт.

4

1-8464

FIXING BRACKET

CLAMP - half

1шт.

5

1-8451

FIXING BRACKET

CLAMP - half, base

1шт.

6

19-6061

SPACER

- 5/16 x 1/2 x 23/32 inch

1шт.

7

19-5664

CLEVIS PIN,5/16" x 2"

PIN - clevis, 5/16 x 1-7/8 inch

1шт.

8

19-6042

WASHER

- flat, 5/16 x 5/8 x 3/64 inch

1шт.

9

19-238

COTTER PIN,3/32" x 3/4"

Pin, Split (Cotter), 3/32" x 3/4"

1шт.

10

NSS

NOT SOLD SEPARAT

LEVER ASSEMBLY - park brake

1шт.

15

9418918

BOLT,Hex, 5/16" - 18 x 1", Gr 5, Full Thd

- hex, 5/16 NC x 1 inch

8шт.

16

19-224

WASHER,3/8", SAE

- flat, 3/8 x 1 x 1/16 inch

4шт.

17

60-5013T1

ANCHOR

MOUNT - park brake

1шт.

18

31-2603

GROMMET

- hole, brake cable

1шт.

19

60-5616T2

CABLE

- actuating, park brake

1шт.

25

19-6216

SCREW - tapping, hex, No. 8 NC x 1 inch

1шт.

26

20-2316T1

SWITCH

- park brake

1шт.

Выбрано товаров: 18