Запчасти Case IH STEIGER (8-18) - HYDRAULIC TANK (08) - HYDRAULICS

Схема запчастей Case IH STEIGER - (8-18) - HYDRAULIC TANK (08) - HYDRAULICS
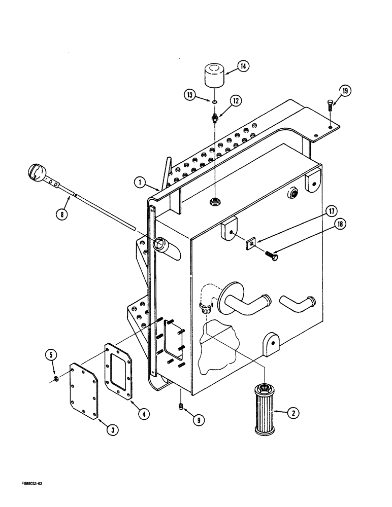
4
2
9
5
17
18
13
3
14
12
1
19
8
FIT
1:1
100%

Артикул

Название

Примечание

Количество

1

50-3034T1

RESERVOIR

TANK - hydrauiic

1шт.

2

50-2029T1

FILTER SCREEN

FILTER - suction, screen

1шт.

3

1-4058

PLATE

COVER - plate, hydraulic tank

1шт.

4

2-1914

GASKET

- cover

1шт.

5

232-4136

LOCK NUT,3/8"-16, GC

NUT - hex, lock, 3/8 inch NC

8шт.

8

47-3580

DIPSTICK

- oil fill

1шт.

9

31-35

PLUG

- square head, 1/2 inch NPT

1шт.

12

50-3167T1

ADAPTER

CONNECTOR - straight, 1/2 NPT x 1-1/8 inch thread

1шт.

13

31-1100

O-RING,14-1, 90 Duro, 1.048" ID x .116"" Thk

- 1-1/32 x 1/8 inch

1шт.

14

18-1633

BREATHER

FILTER - pressure and vacuum

1шт.

17

70-4268T1

WASHER - flat, rectangular

3шт.

18

19-45

BOLT,1/2" - 13 x 1 1/2", Gr 5

- hex, 1/2 NC x 1-1/2 inch

3шт.

19

113-102

BOLT,Hex, 5/16" - 18 x 3/4", Gr 5

Hex, 5/16"-18 x 3/4", G5, Full Thd

2шт.

Выбрано товаров: 13