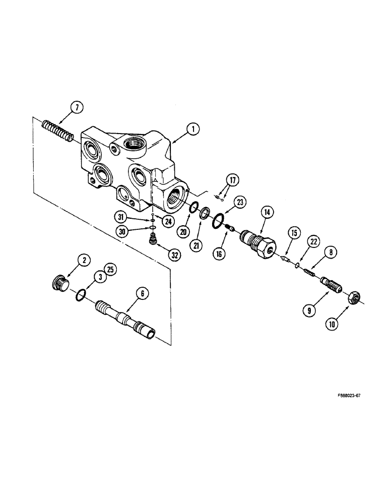
Запчасти Case IH STEIGER (8-50) - HYDRAULIC REMOTE VALVE INLET, WITH PRIORITY VALVE (08) - HYDRAULICS

Схема запчастей Case IH STEIGER - (8-50) - HYDRAULIC REMOTE VALVE INLET, WITH PRIORITY VALVE (08) - HYDRAULICS
30
1
14
9
7
23
8
22
31
20
3
15
16
2
17
24
21
32
10
8
25
FIT
1:1
100%

Артикул

Название

Примечание

Количество

50-2960T92

VALVE

BODY ASSEMBLY - inlet, with priority valve, Includes Ref: 1-32

1шт.

1

NSS

NOT SOLD SEPARAT

BODY - inlet

1шт.

2

31-2094

PLUG

- socket head, 7/8 inch thread, Includes Ref: 3

1шт.

3

31-644

O-RING,10-1, 90 Duro, .755" ID x .097" Thk

- 3/4 x 3/32 inch

1шт.

6

NSS

NOT SOLD SEPARAT

SPOOL - compensator

1шт.

7

50-2961T1

SPRING

- spool

1шт.

8

50-2578T1

SPRING

- poppet

1шт.

9

50-2579T1

ADJUSTMENT SCREW

- adjustment, pressure setting

1шт.

10

19-81

NUT,1/2"-13, G5

- hex, 1/2 inch NC

1шт.

14

50-2580T1

SPINDLE

HOUSING - relief valve

1шт.

15

50-1751T1

VALVE POPPET

POPPET - pilot

1шт.

16

50-2581T1

FILTER

- screen

1шт.

17

50-2566T1

PLUG

- expansion

1шт.

50-2582T1

SEAL KIT

SEAL KIT - inlet, Includes Ref: 20-32

1шт.

20

NSS

NOT SOLD SEPARAT

O-RING - seal, relief valve

1шт.

21

NSS

NOT SOLD SEPARAT

RING - backup

1шт.

22

NSS

NOT SOLD SEPARAT

O-RING - seal, poppet

1шт.

23

NSS

NOT SOLD SEPARAT

O-RING - seal, valve housing

1шт.

24

104916

BALL BEARING,0.1875 mm OD

- steel

1шт.

25

31-644

O-RING,10-1, 90 Duro, .755" ID x .097" Thk

- 3/4 x 3/32 inch

1шт.

50-3002T91

PLUG

ASSEMBLY - shuttle

1шт.

50-1654T1

SEAL KIT

KIT - shuttle plug, Includes Ref: 30, 31

1шт.

30

NSS

NOT SOLD SEPARAT

O-RING - seal, shuttle

1шт.

31

NSS

NOT SOLD SEPARAT

O-RING - seal, shuttle

1шт.

32

NSS

NOT SOLD SEPARAT

SEAT - shuttle plug

1шт.

Выбрано товаров: 25