Запчасти Case IH STEIGER (9-010) - DRAWBAR, EXTENDABLE (09) - CHASSIS/ATTACHMENTS

Схема запчастей Case IH STEIGER - (9-010) - DRAWBAR, EXTENDABLE (09) - CHASSIS/ATTACHMENTS
34
13
27
42
4
48
2
49
8
41
9
26
35
17
7
45
19
3
3
4
44
14
22
12
47
33
14
50
46
37
47
32
18
43
38
1
23
13
28
36
29
FIT
1:1
100%

Артикул

Название

Примечание

Количество

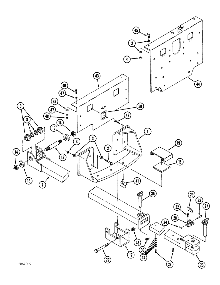
1

70-1739T1

HANGER

- drawbar, without three point hitch (See Figure: 9-4 for hanger with three point hitch)

1шт.

2

25998R1

BOLT,1" - 8 x 5 1/2", Gr 8

- hex, 1 NC x 5-1/2 inch, Grade 8

8шт.

3

19-5739

WASHER

- flat, hardened, 1 x 2 x 5/32 inch

24шт.

4

429-1016

NUT,1"-8, G8

- hex, 1 inch NC

12шт.

7

70-5206T1

TUBE,91.75, 3" Length

- drawbar receiver

1шт.

8

70-2542T1

SPACER

- mounting, drawbar

2шт.

9

70-2733T1

BUSHING,57.35mm ID x 85.85mm OD x 47.75mm L

- wear

2шт.

12

70-1206T1

PIN,57.07mm OD x 296.67mm L

- drawbar mounting

1шт.

13

19-5636

WASHER,39.62mm ID x 88.9mm OD x 9.53mm Thk

- flat, hardened, 1-1/2 x 3-1/2 x 3/8 inch

2шт.

14

19-5641

LOCK NUT,1 1/2"-6, GB

NUT - hex, lock, 1-1/2 inch NC

2шт.

17

70-4516T1

CLEVIS

YOKE - drawbar cradle

1шт.

18

70-4513T1

SLIDE

R - piastic, drawbar

1шт.

19

70-4555T1

COVER

- slider retainer

1шт.

22

19-815

BOLT,Hex, 1" - 8 x 9 1/4", Gr 8

- hex, 1 NC x 9-1/4 inch, Grade 8

2шт.

23

19-375

LOCK NUT,1" - 8, GB

NUT - hex, lock, 1 inch NC

2шт.

26

70-5202T1

DRAWBAR

- extendable

1шт.

27

70-1735T1

PIN

- drawbar pull

1шт.

28

70-1737T1

LATCH

- pin retaining

1шт.

29

1-4906

LATCH

LEVER - pin retaining

1шт.

32

19-543

BOLT,Hex, 1/2" - 13 x 1 1/2", Gr 8

- hex, 1/2 NC x 1-1/2 inch, Grade 8

2шт.

33

42-102

CLEVIS PIN,1/2" x 2.060"

PIN - clevis, 1/2 x 2 inch

1шт.

34

19-168

COTTER PIN,1/8" x 1"

PIN - cotter, 1/8 x 1 inch

35шт.

35

70-1731T1

PIN

- drawbar retaining

1шт.

36

19-1041

LOCK PIN,7/16" x 2"

PIN - klik

1шт.

37

195-108

WASHER,5/8"

- flat, 5/8 x 1-3/4 x 9/64 inch

5шт.

38

26-1020

BOLT,Hex, 5/8" - 11 x 1-1/4", Gr 8

- hex, 5/8 NC x 1-1/4 inch, Grade 8

2шт.

41

70-1937T2

SHAFT LOCK

PIN - slide stop

2шт.

42

193-956

PIN - klik

2шт.

43

70-3029T2

LARGE PLATE

PLATE - rear frame, without three point hitch and without PTO

1шт.

44

70-5151T1

LARGE PLATE

PLATE - rear frame, without three point hitch and with PTO

1шт.

45

223487

BOLT,Hex, 1" - 8 x 3", Gr 8

- hex, 1 NC x 3 inch, Grade 8

4шт.

46

19-42

BOLT,1/2" - 13 x 2 1/4", Gr 5

- hex, 1/2 NC x 2-1/4 inch

6шт.

47

19-109

WASHER,1/2"

- flat, 1/2 x 1-3/8 x 7/64 inch

12шт.

48

19-961

WASHER,17/32" x 1 1/2" x 1/8"

- flat, 1/2 x 1-3/4 x 1/8 inch

6шт.

49

19-81

NUT,1/2"-13, G5

- hex, 1/2 inch NC

6шт.

50

2-7088T1

GASKET

GROMMET - hose protection, 15 inch (Order 2-2089T2 and, Serial Range: cut-length)

2шт.

Выбрано товаров: 36