Запчасти Case IH STEIGER (9-054) - SEAT, AIR SUSPENSION, CAB (09) - CHASSIS/ATTACHMENTS

Схема запчастей Case IH STEIGER - (9-054) - SEAT, AIR SUSPENSION, CAB (09) - CHASSIS/ATTACHMENTS
29
16
29
17
5
2
4
9
22
9
2
22
26
1
3
8
24
14
12
15
10
27
23
6
9
3
11
13
25
7
9
9
28
18
22
FIT
1:1
100%

Артикул

Название

Примечание

Количество

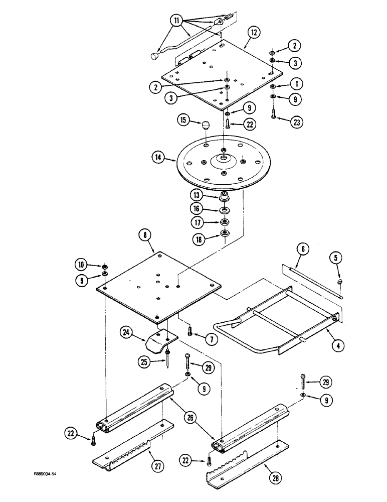
60-5949T91

SEAT

ASSEMBLY - air suspension, gray cloth upholstery

1шт.

1

40-1007

WASHER

- flat, M8

2шт.

2

60-1679T1

WASHER

- flat, M10

4шт.

3

60-1667T1

WASHER

- flat, M11

4шт.

4

60-3249T1

HANDLED SHAFT

HANDLE - fore and aft adjustment

1шт.

5

40-1182

CIRCLIP,M6

RING - snap, M5

2шт.

6

60-3248T1

ROD

- handle pivot

1шт.

7

60-4843T1

SCREW

- machine, M8 x 16 mm

4шт.

8

60-3250T1

PLATE ASSY.

PLATE - swivel mounting

1шт.

9

40-1154

LOCK WASHER

- lock, M8

12шт.

10

40-1121

NUT

- hex, M8

4шт.

60-3255T91

LINK

SWIVEL ASSEMBLY - seal, Includes Ref: 11-18

1шт.

11

60-3247T1

LEVER ASSY.

LEVER ASSEMBLY - swivel

1шт.

12

60-3246T91

PLATE ASSY.

PLATE ASSEMBLY - seat mounting, Includes Ref: 13

1шт.

13

60-1621T1

BUSHING

- swivel plate

1шт.

14

60-1625T1

LINK

PLATE - swivel

1шт.

15

60-1619T1

BUSHING

- swivel

6шт.

16

60-1624T1

THRUST BEARING

- thrust

1шт.

17

60-1623T1

NUT

- hex, M16

1шт.

18

60-1622T1

LOCK NUT

- lock, M16

1шт.

22

40-1164

BOLT,Sl Cheese Hd, M8 x 1.25 x 16mm

- machine, pan head, M8 x 16 mm

6шт.

23

40-1231

BOLT,Hex, M8 x 1.25 x 16mm, Gr 8.8

BOLT - hex, M8 x 16 mm

2шт.

24

60-3368T1

SPRING

PLATE - spring

1шт.

25

1-2503

RIVET,Pop, .146" x .425"

- pop, 5/32 x 1/4 inch

2шт.

26

60-1577T1

RAIL ASSY.

RAIL - fore and aft seat slide

2шт.

27

60-3251T1

PLATE

- right locking, slide rail

1шт.

28

60-3253T1

PLATE

- left locking, slide rail

1шт.

29

40-1233

SCREW,Sl Cheese Hd, M8 x 1.25 x 20mm

- machine, pan head, M8 x 20 mm

4шт.

Выбрано товаров: 28