Запчасти Case IH STEIGER (9-066) - SEAT, AIR SUSPENSION, CAB (09) - CHASSIS/ATTACHMENTS

Схема запчастей Case IH STEIGER - (9-066) - SEAT, AIR SUSPENSION, CAB (09) - CHASSIS/ATTACHMENTS
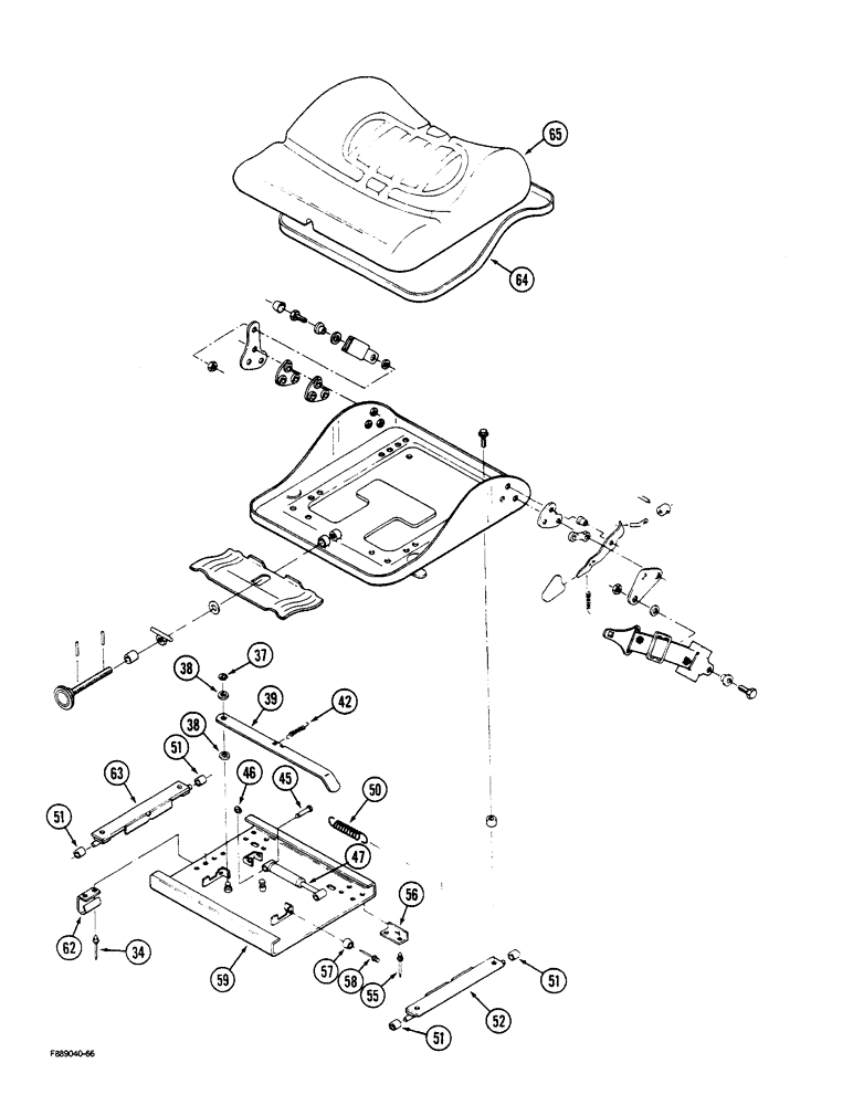
51
57
46
58
47
62
63
39
65
55
64
34
52
56
50
59
42
51
38
51
51
38
45
37
FIT
1:1
100%

Артикул

Название

Примечание

Количество

34

1-2503

RIVET,Pop, .146" x .425"

- pop, 5/32 x 1/4 inch (Continued from previous page)

2шт.

60-3235T91

LEVER ASSY.

LEVER ASSEMBLY, Includes Ref: 37-39

1шт.

37

40-1155

CIRCLIP,M10

RING - snap, M9

1шт.

38

40-1183

WASHER

- M10

2шт.

39

NSS

NOT SOLD SEPARAT

LEVER - lateral isolator

1шт.

42

60-3234T1

SPRING

- lever return

1шт.

60-3230T91

SHOCK ABSORBER

ASSEMBLY, Includes Ref: 45-47

1шт.

45

60-3233T1

PIN

- shock mounting

2шт.

46

40-1182

CIRCLIP,M6

RING - snap, M5

2шт.

47

NSS

NOT SOLD SEPARAT

SHOCK ABSORBER

1шт.

50

60-3232T1

SPRING

- lateral isolator return

2шт.

51

60-3228T1

NEEDLE BEARING

- needle roller

4шт.

52

60-3229T1

BRACKET

- isolator left

1шт.

60-3226T91

BASE

ASSEMBLY - isolator, Includes Ref: 55-59

1шт.

55

NSS

NOT SOLD SEPARAT

RIVET - pop, 3.2 x 6.2 mm

8шт.

56

NSS

NOT SOLD SEPARAT

ANGLE - bracket

4шт.

57

151-527

RIVET - pop, 4 x 12 mm Pop, 5/32" x .517"

2шт.

58

60-3231T1

BUMPER

- isolator

2шт.

59

NSS

NOT SOLD SEPARAT

BASE - lateral isolator

1шт.

62

60-3366T1

SPRING

- leaf

1шт.

63

60-3227T1

BRACKET

- isolator, right

1шт.

64

60-1640T1

SUPPORT

EXTRUSION - plastic

1шт.

65

60-5951T1

CUSHION

- seat bottom (Gray cloth upholstery)

1шт.

Выбрано товаров: 23