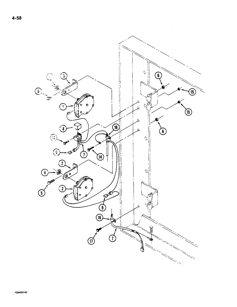
Запчасти Case IH STEIGER (4-58) - HORN AND MOUNTING (04) - ELECTRICAL SYSTEMS

Схема запчастей Case IH STEIGER - (4-58) - HORN AND MOUNTING (04) - ELECTRICAL SYSTEMS
3
7
15
3
6
9
15
8
7
14
16
5
16
9
4
5
4
7
2
6
14
17
FIT
1:1
100%

Артикул

Название

Примечание

Количество

1

29-1002

HORN

- electrical

1шт.

2

29-1003

HORN

- electrical

1шт.

3

29-1004

BRACKET

- mounting, horn

2шт.

4

19-1002

SPECIAL NUT

- hex jam

2шт.

5

19-6

BOLT,5/16" - 18 x 3/4", Gr 5

- hex, 5/16 NC x 3/4 inch

2шт.

6

19-508

LOCK NUT

- hex lock, 5/16 inch NC

2шт.

7

20-2021T1

HARNESS

- horn

1шт.

8

20-2133T1

RELAY

- electrical

1шт.

9

22-738

DIODE

- electrical

2шт.

14

9421295

SCREW,Hex Washer, #10 - 24 x 3/4"

- flanged head, No. 10 NC x 3/4 inch

2шт.

15

19-5571

SERRATED NUT

- hex keps, No. 10 NC

2шт.

16

32-69

CLAMP

- harness

2шт.

17

276-1478

SELF-TAP SCREW,Hex Hd, 1/4" x 1/2"

SCREW - tapping, flanged head, 1/4 NC x 1/2 inch

1шт.

Выбрано товаров: 13