Запчасти Case IH STEIGER (2-02) - RADIATOR MOUNTING (02) - ENGINE

Схема запчастей Case IH STEIGER - (2-02) - RADIATOR MOUNTING (02) - ENGINE
29
19
19
18
9
10
24
23
30
16
11
8
34
36
28
34
1
25
2
5
35
39
29
7
17
15
30
3
FIT
1:1
100%

Артикул

Название

Примечание

Количество

1

REF

INSTRUCTION

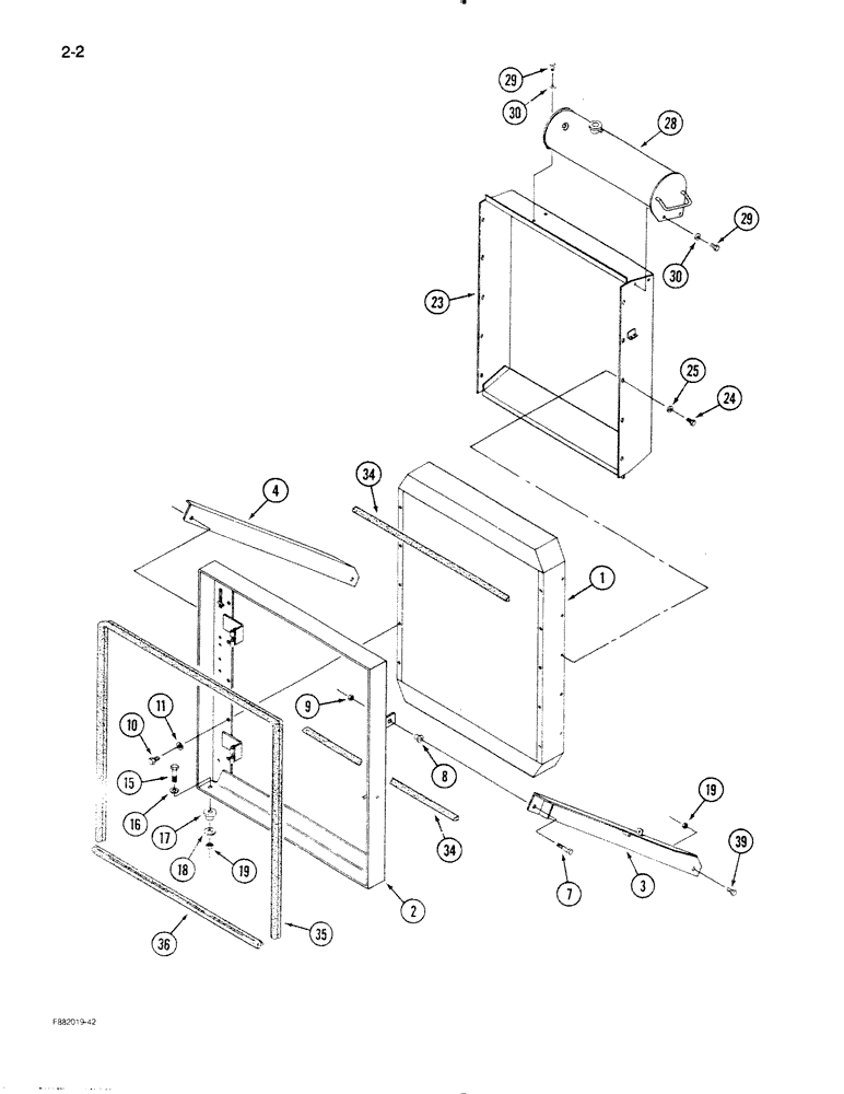
RADIATOR ASSEMBLY - cooling system (See Figure: 2-4 and 2-6)

1шт.

2

90-6805T1

ANCHOR

MOUNT - radiator

1шт.

3

90-6934T2

SUPPORT

- radiator, LH

1шт.

4

90-6933T1

SUPPORT

- radiator, RH

1шт.

7

19-46

BOLT,1/2" - 13 x 2", Gr 5

- hex, 1/2 NC x 2 inch

2шт.

8

18-511

MOUNTING PARTS

MOUNT - isolator, rubber

2шт.

9

19-653

LOCK NUT

- hex, lock, 1/2 inch NC

2шт.

10

113-205

BOLT,Hex, 3/8" - 16 x 5/8", Gr 5

- hex, 3/8 NC x 7/8 inch

10шт.

11

113-205

BOLT,Hex, 3/8" - 16 x 5/8", Gr 5

WASHER - flat, 3/8 x 1 x 1/16 inch

10шт.

15

19-48

BOLT,Hex, 1/2" - 13 x 3", Gr 5

- hex, 1/2 NC x 3 inch

2шт.

16

19-463

WASHER,1/2", SAE

- flat, 1/2 x 1-1/4 x 7/64 inch

2шт.

17

47-4208

RUBBER BUSHING

MOUNT - isolator, rubber

2шт.

18

22042R1

WASHER

- flat, 1/2 x 2 x 1/8 inch

2шт.

19

19-82

LOCK NUT

- hex, lock, 1/2 inch NC

4шт.

23

90-6826T1

SHOULDER

SHROUD - radiator and fan

1шт.

24

19-417

BOLT,Hex, 1/4" - 20 x 0.50", Gr 5, Full Thd

- hex, 1/4 NC x 1/2 inch

10шт.

25

19-105

WASHER,1/4", SAE

- flat, 1/4 x 41/64 x 1/16 inch

10шт.

28

REF

INSTRUCTION

TANK - fill, radiator (See Page 2-5 and 2-7)

1шт.

29

19-6

BOLT,5/16" - 18 x 3/4", Gr 5

- hex, 5/16 NC x 3/4 inch

4шт.

30

19-106

WASHER,5/16", SAE

- flat, 5/16 x 7/8 x 1/16 inch

4шт.

34

70-5267T1

SEAL

- foam, 35-3/4 inch

2шт.

35

70-2987T1

SEAL

- foam, molded, 130 inch

1шт.

36

90-6832T1

SEAL

- foam, molded, 44-1/4 inch

1шт.

39

19-45

BOLT,1/2" - 13 x 1 1/2", Gr 5

- hex, 1/2 NC x 1-1/2 inch

2шт.

Выбрано товаров: 0