Качественные детали и логистика
Оригинальные и аналоговые запчасти с доставкой по России, Казахстану и Беларуси
©2022 PartSell ООО "Система" ИНН 2463123282 ОГРН 1212400004838
Центральный офис: г. Красноярск, Академика Киренского, д.87, пом.4
Телефон: 8 (800) 777-65-74 Email: zakaz@partsell.ru
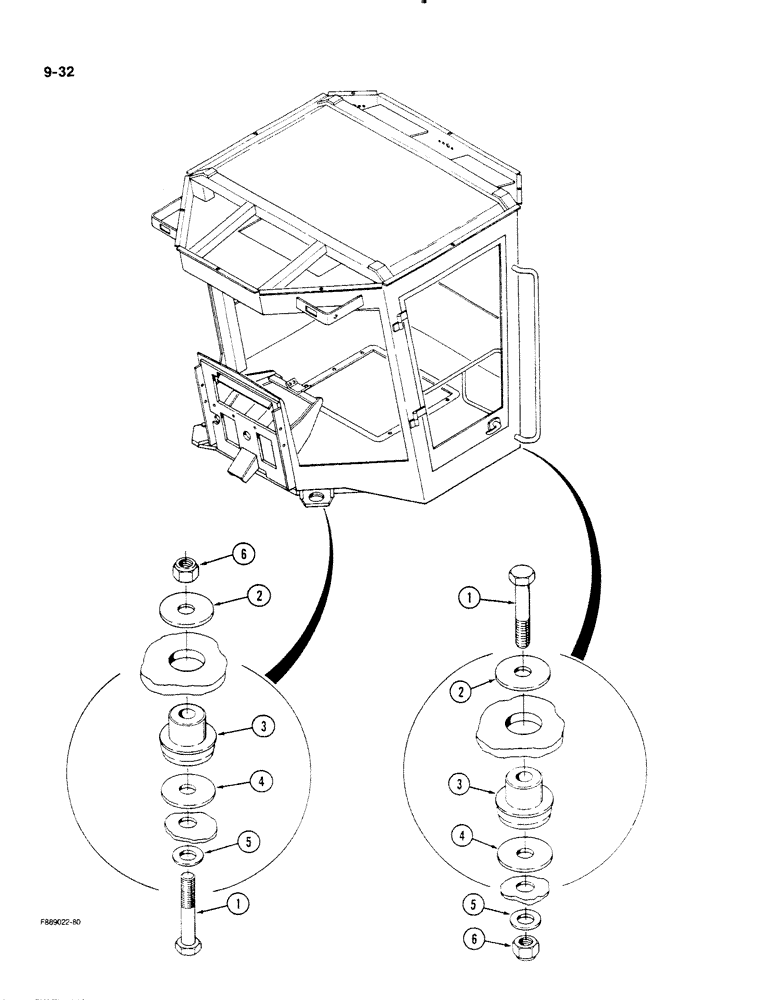
(9-032) - MOUNTS, CAB AND ROPS
№
Артикул
Название
Примечание
Количество
1
19-5352
BOLT,Hex, 1" - 8 x 4 1/2", Gr 5
- hex, 1 NC x 4-1/2 inch
4шт.
2
60-5033T1
WASHER
SNUBBER - 1-1/16 x 3-1/4 x 1/4 inch thick
3
60-4379T1
MOUNTING PARTS
MOUNT - rubber isolator
4
60-4378T1
SPACER - 1-1/16 x 3-5/8 x 1/4 inch thick
5
19-5739
- flat, hardened, 1-1/16 x 2 x 5/32 inch
6
19-5405
LOCK NUT
- lock, 1 inch NC
Выбрано товаров: 0