Запчасти Case IH STEIGER (9-080) - CONTROL CONSOLE, ROPS (09) - CHASSIS/ATTACHMENTS

Схема запчастей Case IH STEIGER - (9-080) - CONTROL CONSOLE, ROPS (09) - CHASSIS/ATTACHMENTS
9
8
13
10
2
4
1
7
6
12
13
19
18
11
3
17
7
16
5
14
20
20
10
12
8
15
FIT
1:1
100%

Артикул

Название

Примечание

Количество

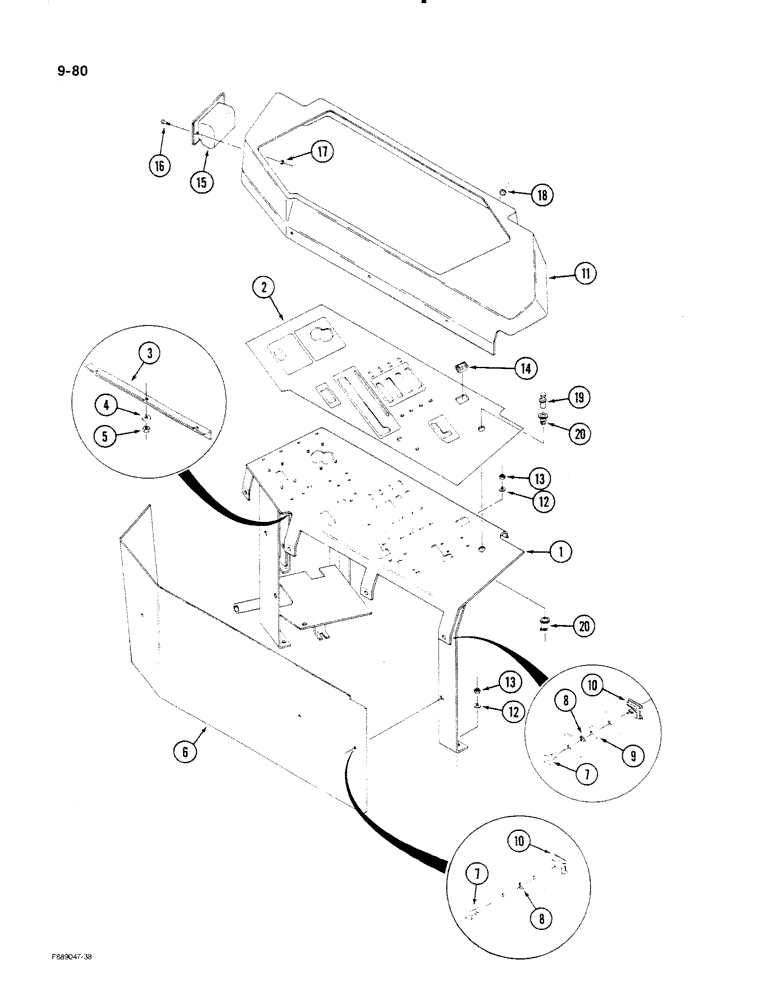
1

60-5853T1

PANEL ASSY.

PANEL - control console

1шт.

2

60-5979T1

DECAL

- control consoie

1шт.

3

60-4276T1

SUPPORT

BRACKET - stiffener, console

1шт.

4

19-195

WASHER,#10

- flat, No. 10 x 9/16 x 3/64 inch

3шт.

5

19-5563

LOCK NUT

- lock, No. 10 NC

3шт.

6

60-4133T1

SHIELD

PANEL - console wraparound

1шт.

7

19-6136

STUD

- quarter turn

11шт.

8

A36041

RETAINER

- quarter turn stud

11шт.

9

19-5668

WASHER

- flat, 1/4 x 3/4 x 3/16 inch

7шт.

10

A36042

CLIP

RECEPTACLE - quarter turn stud

11шт.

11

60-5938T1

COVER

- console, gray

1шт.

12

19-106

WASHER,5/16", SAE

- flat, 5/16 x 7/8 x 1/16 inch

5шт.

13

231-1445

NUT,5/16"-18, GB

NUT - lock, 5/16 inch NC

5шт.

14

60-3210T1

PLUG

- switch hole

1шт.

15

2-6138T91

ASH TRAY

ASHTRAY

1шт.

16

133495

SCREW,Mach, Sl Flat Hd, Csk, #8 - 32 x 0.62", Gr 2

- machine, flat head, No. 8 NC x 5/8 inch

2шт.

17

19-5621

LOCK NUT,#8-32, GB

NUT - lock, No. 8 NC

2шт.

18

22-619

GROMMET

- hole plug

1шт.

19

22-727

KNOB

LIGHTER - cigar, knob and plug

1шт.

20

20-2237T1

CONTAINER

RECEPTACLE - cigar lighter

1шт.

Выбрано товаров: 20