Запчасти Case IH STEIGER (4-18) - TRANSMISSION HARNESS (04) - ELECTRICAL SYSTEMS

Схема запчастей Case IH STEIGER - (4-18) - TRANSMISSION HARNESS (04) - ELECTRICAL SYSTEMS
3
1
6
10
9
6
5
1
2
8
4
7
12
FIT
1:1
100%

Артикул

Название

Примечание

Количество

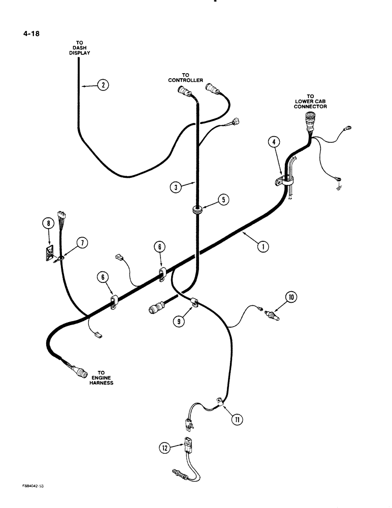
1

20-2443T2

HARNESS

ASSEMBLY - transmission

1шт.

2

20-2292T1

HARNESS

ASSEMBLY - dash, display

1шт.

3

20-2290T1

HARNESS

ASSEMBLY - transmission solenoid

1шт.

4

31-1349

MOUNTING CLIP

CLAMP - harness, retaining

2шт.

5

1-1051

GROMMET

- protective

1шт.

6

31-1070

CLAMP,5/8", 3/8" Bolt, Double

- harness, retaining

2шт.

7

22-824

CABLE TIE,3/16" x 7 1/4"

STRAP - nylon

1шт.

8

22-823

MOUNT

MOUNT - adhesive backed

1шт.

9

155850H1

CLAMP,3/8", 1/4" Bolt

- harness, retaining

1шт.

10

47-4181

IGNITION SWITCH

SWITCH - temperature

1шт.

11

31-1862

CLAMP

- harness, retaining

1шт.

12

20-2129T1

SENSOR

- magnetic, MPH (Prior to P.I.N. JCB0001961 on cabs and prior to P.I.N. JCB0001941 on ROPS)

1шт.

60-6085T1

SENSOR

- magnetic, MPH (P.I.N. JCB0001961 and after on cabs and P.I.N. JCB0001941 and after on ROPS)

1шт.

For P/N 20-1587T1: thread size - 5/8-18 UNF, wire size - N/A, connector - N/A.

1шт.

For P/N 20-1854T1: thread size - 5/8-18 UNF, wire size - 9 inch, connector - round.

1шт.

For P/N 20-21294T1: thread size - 5/8-18 UNF, wire size - 9 inch, connector - round.

1шт.

For P/N 20-2357T1: thread size - 3/4-16 UNF, wire size - 9 inch, connector - oval.

1шт.

For P/N A48264: thread size - 3/4-20 UNF, wire size - 9 inch, connector - round.

1шт.

Выбрано товаров: 18