Запчасти Case IH STEIGER (02-11) - INSTRUMENT PANEL AND MOUNTING, ROPS POST GAUGES (06) - ELECTRICAL

Схема запчастей Case IH STEIGER - (02-11) - INSTRUMENT PANEL AND MOUNTING, ROPS POST GAUGES (06) - ELECTRICAL
24
28
17
2
20
3
18
21
10
2
19
7
23
19
9
10
13
22
20
23
6
4
5
14
12
16
27
1
21
11
8
2
18
10
27
5
25
3
15
5
5
24
22
FIT
1:1
100%

Артикул

Название

Примечание

Количество

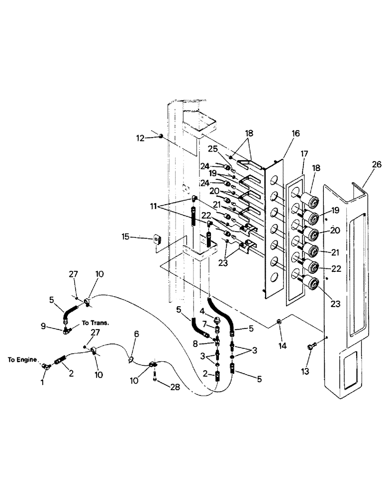
1

9410278

ELBOW,90 Degree, 7/16"-20, 37 Degree x 7/16"-20, 37 Degree Fem Sw

7/16-20 JIC 37 degree female x 7/16-20 JIC 37 degree male

1шт.

2

31-2155

HOSE

1шт.

3

31-1391

FITTING,Blkhd, 7/16"-20, 37 Degree x 7/16"-20, 37 Degree

CONNECTOR - bulkhead, 7/16-20 JIC 37 degree female x 7/16-20 JIC 37 degree male

2шт.

4

1-2805

SWITCH

Engine oil pressure

1шт.

5

31-2784

HOSE

3шт.

6

50-2037T1

STRAP

Nylon

1шт.

7

31-2741

HYD CONNECTOR,37 Degree, Sw, 7/16"-20 x 1/8"-27 NPTF

7/16-20 JIC 37 degree female x 1/8 NPT female

1шт.

8

31-2158

TEE,37 Degree, 7/16"-20, x 7/16"-20, Fem Sw Run

7/16-20 JIC 37 degree female x 7/16-20 JIC 37 degree female x 7/16-20 JIC 37 degree male

1шт.

9

18-1538

ELBOW,90 Degree, 7/16"-20, 37 Degree x 7/16"-20, O-Ring

(4), 7/16-20 O-ring boss x 7/16-20 JIC 37 degree male

1шт.

10

31-1776

MOUNTING CLIP

CLAMP - hose

3шт.

11

31-2740

ELBOW

1/8 NPT male x 7/16-20 45 degree male brass

2шт.

12

9411893

LOCK NUT,#10-32, GB

No. 10 UNF G-A

4шт.

13

19-6136

STUD

Quarter turn

5шт.

14

19-5668

WASHER

1/4 x 3/4 x 3/16 thk

5шт.

15

19-6137

CONTAINER

RECEPTACLE - quarter turn

5шт.

60-5960T91

PANEL

PANEL ASSEMBLY - gauge (With gray interiors), Includes: Ref. 16 - 25

1шт.

60-5788T91

PANEL

PANEL ASSEMBLY - gauge (With tan interiors), Includes: Ref. 16 - 25

1шт.

16

60-5756T1

PANEL

Gauge mounting

1шт.

17

60-5939T1

DECAL

Gauge panel (With gray interiors)

1шт.

60-5760T1

DECAL

Gauge panel (With tan interiors)

1шт.

18

20-2018T1

HOURMETER

GAUGE

1шт.

19

20-2466T1

VOLTMETER

GAUGE

1шт.

20

20-2464T1

FUEL GAUGE

Fuel level

1шт.

21

20-465T1

Engine water temperature

1шт.

22

20-2468T1

GAUGE

Engine oil pressure

1шт.

23

20-2467T1

GAUGE

Transmission oil pres.

1шт.

24

20-2442T1

HARNESS

Instrument panel lighting

1шт.

25

22-717

LAMP

BULB - lamp (No. 1893)

6шт.

26

60-5755T1

COVER

SPARE PART Gauge panel (With tan interiors)

1шт.

27

Existing Hardware

1шт.

Выбрано товаров: 30