Запчасти Case IH STEIGER (01-38) - MODE LEVER ASSEMBLY (10) - CAB

Схема запчастей Case IH STEIGER - (01-38) - MODE LEVER ASSEMBLY (10) - CAB
6
7
17
3
6
7
11
4
8
14
13
15
9
7
18
5
2
16
12
8
7
1
10
FIT
1:1
100%

Артикул

Название

Примечание

Количество

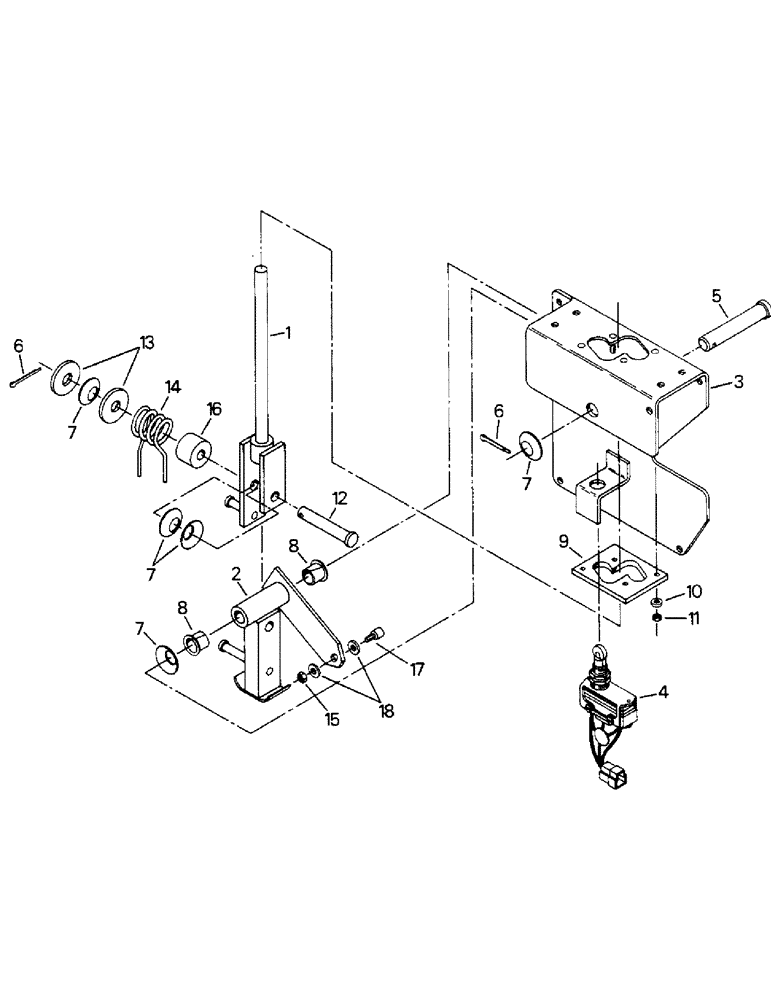
60-4446T93

LEVER

ASSEMBLY - mode, Includes: Ref. 1 - 18

1шт.

1

60-4517T3

LEVER

Mode

1шт.

2

60-4518T2

PIVOT

SPARE PART Mode lever

1шт.

3

60-4519T3

FRAME

SPARE PART Mode

1шт.

4

20-2050T2

IGNITION SWITCH

SWITCH ASSEMBLY

1шт.

5

19-6158

CLEVIS PIN,1/2" x 2 3/4"

1/2 x 2-3/4 inch

1шт.

6

19-168

COTTER PIN,1/8" x 1"

1/8 x 1 inch

2шт.

7

19-6034

SPRING WASHER

Curved spring, 1/2

5шт.

8

24-206

BEARING CONE,0.5" ID x 0.75" OD x 0.3"

BEARING - flanged

2шт.

9

60-4521T1

PLATE

Lever wear

1шт.

10

19-708

WASHER,#6

Flat, no. 6 x 3/8 x 1/16 thk

4шт.

11

19-5564

LOCK NUT,#6-32, GB

No. 6 UNC G-A

4шт.

12

19-6159

CLEVIS

SPARE PART PIN - clevis, 3/8 x 2-1/4 inch

1шт.

13

19-6192

WASHER - flat, 3/8 x 1-1/4 x 7/64 thk

2шт.

14

70-4486T2

SPRING

Lever return

1шт.

15

193-1002

NUT,Keps, #8 - 32, w/ Ext Tooth LW

Keps, no. 8 UNC G-A

1шт.

16

60-4511T2

SPACER

Spring

1шт.

17

20-1316T1

ACTUATOR

Magnetic

1шт.

18

19-281

WASHER,#8

Flat, no. 8

2шт.

Выбрано товаров: 19