Качественные детали и логистика
Оригинальные и аналоговые запчасти с доставкой по России, Казахстану и Беларуси
©2022 PartSell ООО "Система" ИНН 2463123282 ОГРН 1212400004838
Центральный офис: г. Красноярск, Академика Киренского, д.87, пом.4
Телефон: 8 (800) 777-65-74 Email: zakaz@partsell.ru
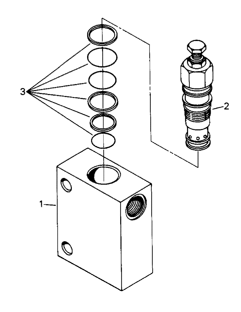
(10-11) - PRESSURE REDUCING VALVE ASSEMBLY
№
Артикул
Название
Примечание
Количество
50-2390T92
VALVE
ASSEMBLY - pressure reducing, Includes: Ref. 1 - 3
1шт.
1
NSS
NOT SOLD SEPARAT
BODY - valve
2
50-2715T91
CARTRIDGE
Pressure reducing (Includes Ref. 3)
3
50-2717T1
SEAL KIT
KIT - seal
Выбрано товаров: 0