Запчасти Case IH STEIGER (04-09) - EXHAUST SYSTEM (04) - Drive Train

Схема запчастей Case IH STEIGER - (04-09) - EXHAUST SYSTEM (04) - Drive Train
12
14
14
23
14
3
16
18
7
2
6
15
10
12
21
15
14
19
4
16
1
22
16
15
20
4
9
16
11
5
12
15
13
15
8
14
16
15
16
1
16
15
17
FIT
1:1
100%

Артикул

Название

Примечание

Количество

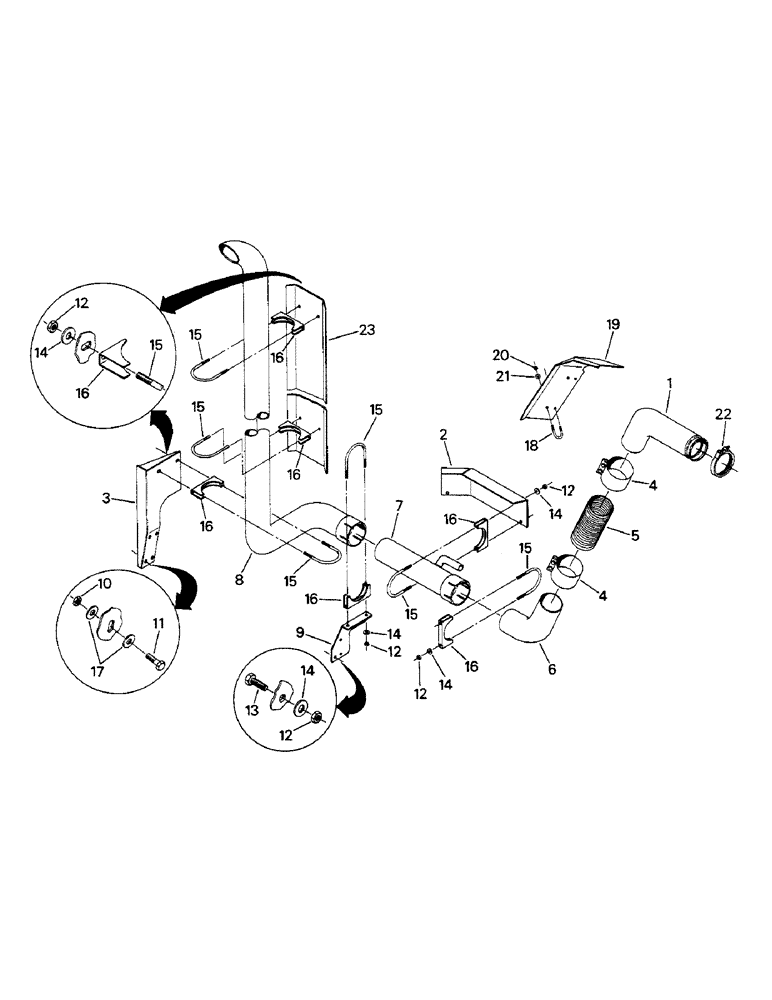
1

90-6227T1

TUBE,13.6 mm L

Turbo charger to flex tube

1шт.

2

70-4911T1

SHIELD

Heat

1шт.

3

90-6627T2

ANCHOR

MOUNT - exhaust stack (90-6628T1)

1шт.

Old part can be used on all tractors, new part should be used when stock is depleted.

1шт.

4

31-2465

CLAMP

SEAL - clamp, exhaust

2шт.

5

90-5858T1

TUBE,4" ID x 4.25" OD x 9" L

TUBING - flex

1шт.

6

90-6235T1

TUBE,4" OD

TUBE - flex tube to ejector

1шт.

7

90-6225T1

TUBE,4" DIA x 18.5" L

EJECTOR - exhaust

1шт.

8

90-6230T1

EXHAUST SYSTEM PIPE,4 mm OD

TUBE - exhaust stack

1шт.

9

90-6619T1

BRACKET

MOUNT - exhaust stack

1шт.

10

19-080

NUT - lock, 7/16 UNC G-B

4шт.

11

19-032

CAPSCREW, 7/16 UNC x 1 G-5

4шт.

12

19-087

NUT - lock, 3/8 UNC x G-B

13шт.

(Quantity 17 with ROPS only cab)

1шт.

13

19-18

BOLT,Hex, 3/8" - 16 x 1 1/4", Gr 5

CAPSCREW, 3/8 UNC x 1-1/4 G-5

3шт.

14

19-107

WASHER

WASHER, flat, 3/8

13шт.

(Quantity 17 with ROPS only cab)

1шт.

15

19-6256

BOLT

U-BOLT (19-6231)

5шт.

Old part can be used on all tractors, new part should be used when stock is depleted.

1шт.

(Quantity 7 with ROPS only cab)

1шт.

16

19-6232

SADDLE

SADDLE - U-bolt

5шт.

(Quantity 7 with ROPS only cab)

1шт.

17

19-108

WASHER,7/16"

WASHER - flat, 7/16

8шт.

18

19-153

U-BOLT

U-BOLT - heat shield mounting

2шт.

19

90-6746T1

SHIELD

SHIELD - heat

1шт.

20

19-508

LOCK NUT

NUT - lock, 5/16 UNC G-B

4шт.

21

19-700

WASHER,5/16"

WASHER - flat, 5/16

4шт.

22

NAP

CLAMP, turbo, Serial Range: charger-tube

1шт.

23

90-6923T1

SHIELD

SHIELD - head

1шт.

(Used on ROPS only cab only)

1шт.

Выбрано товаров: 30