Запчасти Case IH STEIGER (02-07) - DASH GROUP (06) - ELECTRICAL

Схема запчастей Case IH STEIGER - (02-07) - DASH GROUP (06) - ELECTRICAL
6
19
17
24
9
12
11
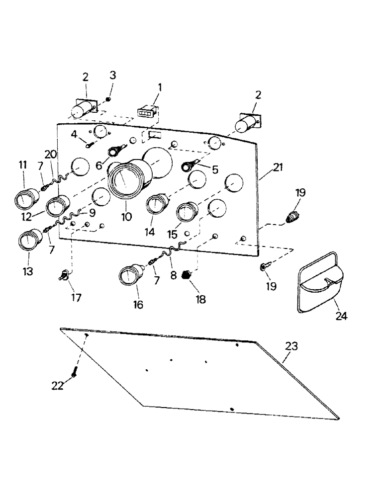
1
10
16
13
4
23
7
19
3
21
7
20
22
5
14
7
18
2
15
8
2
FIT
1:1
100%

Артикул

Название

Примечание

Количество

1

29-23

HOURMETER

1шт.

2

22-84

LIGHT

DASH LIGHT

2шт.

3

19-76

NUT,1/4"-20, G5

1/4 UNC

4шт.

4

19-1

BOLT,Hex, 1/4" - 20 x 3/4", Gr 5

1/4 x 3/8 UNC

4шт.

5

29-55

LIGHT

BRAKE LIGHT, Series II but could be on some Series I

1шт.

6

29-56

LIGHT

WARNING LIGHT, engine temp, Series II but could be on some Series I

1шт.

7

31-516

ROD, CONNECTING

FITTING

3шт.

8

TUBING, fuel pressure

1шт.

When ordering pressure tubing, order Kit P/N 29-011. This kit includes brass fittings 31-515 and 31-516 and the tubing can be cut to the length needed.

1шт.

9

TUBE, oil pressure

1шт.

When ordering pressure tubing, order Kit P/N 29-011. This kit includes brass fittings 31-515 and 31-516 and the tubing can be cut to the length needed.

1шт.

10

29-22

TACHOMETER, mech.

1шт.

24-50

CABLE

tach., has Tang on drive end, use with 06-054

1шт.

29-39

CABLE ASSY.

CABLE, tach., has sq. cable on both ends, use with 06-055

1шт.

6-54

ADAPTER

DRIVE, tach., silver colored

1шт.

6-55

DRIVE

tach.,. olive green

1шт.

P/N 6-55 has a square drive, .104 / .108 tip, if this does not fit replace drive with Tang style drive 6-111, .185 / .187

1шт.

11

29-47

GAUGE

engine oil press., repl. 29-017

1шт.

Superseded, old P/N can be used for all models, but order new P/N when stock is depleted.

1шт.

Earlier gauges can be used up if available

1шт.

12

29-49

GAUGE

engine temp., repl.29-015

1шт.

Superseded, old P/N can be used for all models, but order new P/N when stock is depleted.

1шт.

Earlier gauges can be used up if available

1шт.

13

29-59

GAUGE

trans. oil pressure, Series II but could be on some Series I

1шт.

29-48

GAUGE

trans. oil temp., repl. 29-016

1шт.

Superseded, old P/N can be used for all models, but order new P/N when stock is depleted.

1шт.

Earlier gauges can be used up if available

1шт.

11

29-28

AMMETER

1шт.

15

1-8609

GAUGE

fuel level, repl. 29-060, and 29-006

1шт.

Superseded, old P/N can be used for all models, but order new P/N when stock is depleted.

1шт.

Earlier gauges can be used up if available

1шт.

16

29-50

GAUGE

fuel press., repl. 29-021

1шт.

Superseded, old P/N can be used for all models, but order new P/N when stock is depleted.

1шт.

Earlier gauges can be used up if available

1шт.

17

22-24

SWITCH

light

3шт.

18

22-31

SWITCH

starter

1шт.

19

22-12

SWITCH

lock

1шт.

20

TUBE, oil press.

1шт.

When ordering pressure tubing, order Kit P/N 29-011. This kit includes brass fittings 31-515 and 31-516 and the tubing can be cut to the length needed.

1шт.

21

4-42

LARGE PLATE

DASH PANEL

1шт.

22

19-248

SELF-TAP SCREW,Hex Wshr Hd, 1/4" - 20 x 3/4"

SCREW, self-drilling, 1/4 x 3/4

8шт.

23

4-381

PLATE, access door

1шт.

26-258

MOLDING

MOULDING, edging on dash

1шт.

24

64-95

ASH TRAY

1шт.

19-497

SCREW, #10 x 1/2 UNF

2шт.

19-481

SERRATED NUT

#10 UNF

2шт.

25

31-643

ADAPTER, use with Ref. 12, not shown

1шт.

Выбрано товаров: 0