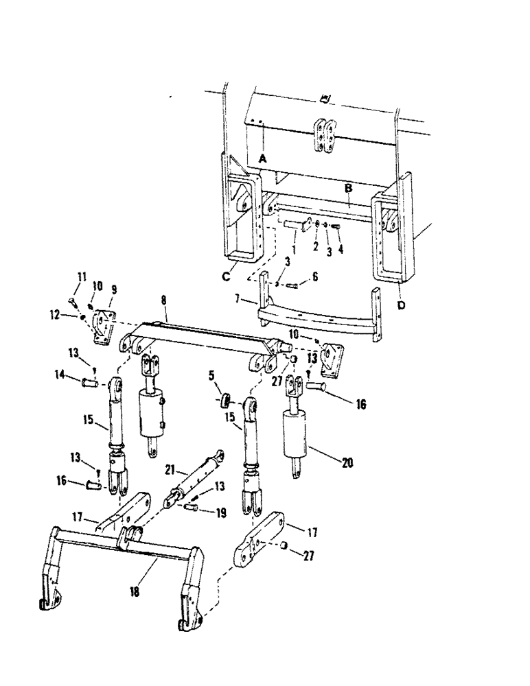
Запчасти Case IH STEIGER (10-01) - THREE-POINT HITCH - SERIES I Options & Miscellaneous

Схема запчастей Case IH STEIGER - (10-01) - THREE-POINT HITCH - SERIES I Options & Miscellaneous
5
13
9
4
a
17
2
17
14
16
3
10
27
1
15
6
19
12
15
16
8
13
3
21
11
b
13
c
10
20
13
18
7
FIT
1:1
100%

Артикул

Название

Примечание

Количество

a

40-481

MT. ROCKER ARM (weld-on)

1шт.

b

40-138

MT. LOWER LINK (weld-on)

1шт.

c

40-173

HANGER

LH (weld-on)

1шт.

40-401

WEAR PLATE (not shown)

1шт.

d

40-174

HANGER

RH (weld-on)

1шт.

40-402

WEAR PLATE (not shown)

1шт.

1

40-183

PIN, link (1-3/4" OD x 8")

2шт.

40-451

PIN, link (1-7/16" OD x 8")

2шт.

2

19-109

WASHER,1/2"

FLAT WASHER, 1/2"

2шт.

3

19-119

LOCK WASHER,1/2"

1/2"

6шт.

4

19-45

BOLT,1/2" - 13 x 1 1/2", Gr 5

CAPSCREW, 1/2" NC x 1-1/2"

2шт.

5

40-400

SPACER, upper pin

2шт.

6

19-47

BOLT,1/2" - 13 x 2 1/2", Gr 5

CAPSCREW, 1/2" NC x 2-1/2"

4шт.

7

40-344

FUNNEL

HANGER, drawbar

1шт.

8

40-132

ROCKSHAFT

(service w/70-1841T91)

1шт.

9

40-126

BLOCK

PILLOW BLOCK

2шт.

10

80710

LUBE NIPPLE,1/8” – 27 Dryseal PTF

NIPPLE, LUBE, 1/8"-27 x .66 lg

2шт.

11

19-61

BOLT,5/8" - 11 x 2 1/2", Gr 5

CAPSCREW, 5/8" x 2-1/4"

4шт.

12

19-120

LOCK WASHER,5/8"

5/8"

4шт.

13

19-226

PIN,5/16" x 3"

Split (Cotter), 5/16" x 3"

8шт.

14

19-393

PIN

top adj. arm

2шт.

15

40-373T91

ARM ASSY.

ADJ. ARM (repl 40-165 & 40-373) (B)

2шт.

16

19-327

ARM

PIN

2шт.

17

LOWER LINK (see figure 10-5)

2шт.

18

40-330T1

HITCH ASSY, TRAILER

QUICK HITCH (see figure 10-5)

1шт.

19

19-328

PIN, center link

2шт.

CYL. HYD. (see figure 10-7)

2шт.

21

CENTER LINK (see figure 10-6)

1шт.

Выбрано товаров: 0