Запчасти Case IH STEIGER (08-03) - (07) - HYDRAULICS

Схема запчастей Case IH STEIGER - (08-03) - (07) - HYDRAULICS
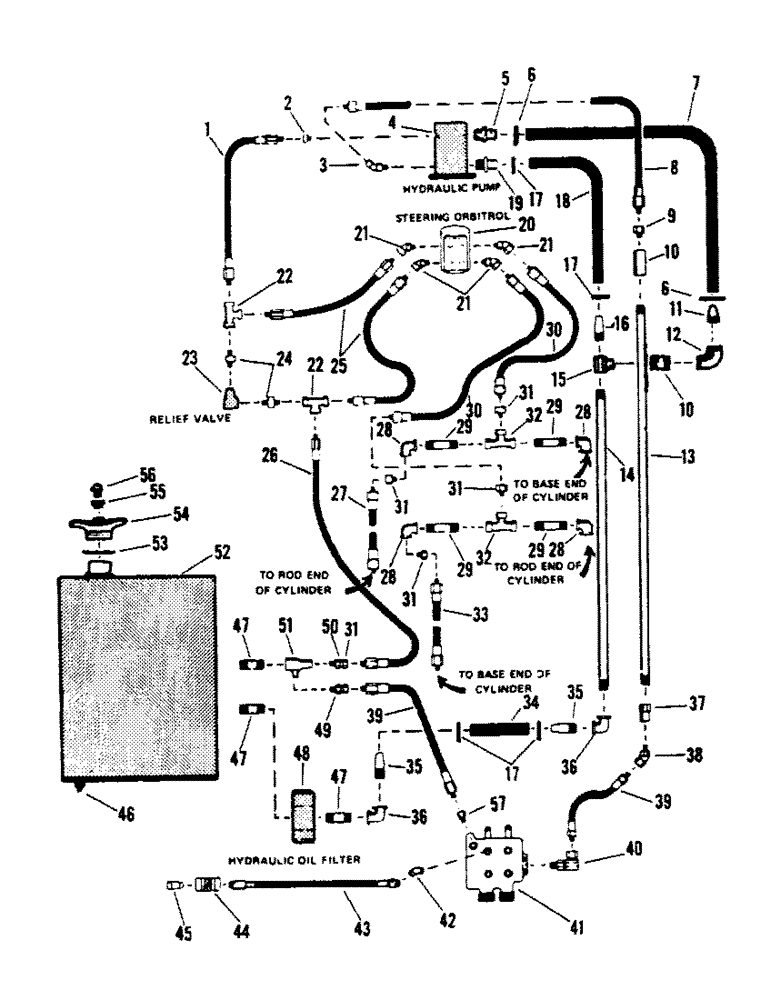
29
3
6
22
36
10
39
2
30
7
31
24
8
37
28
18
27
30
29
12
29
51
36
57
28
31
35
6
28
46
47
54
52
32
4
41
16
44
35
56
47
21
49
20
21
17
34
2
17
11
31
31
10
29
28
39
23
15
13
14
42
55
33
21
32
47
26
9
17
31
40
50
45
43
38
1
48
25
19
53
5
FIT
1:1
100%

Артикул

Название

Примечание

Количество

1

32-45

SPARE PART

1шт.

2

31-398

X

ADAPTER

1шт.

3

31-437

PIPE

ADAPTER

1шт.

4

18-1415

PUMP, HYDRAULIC

Replaced 18-504, use proper fittings to adapt new pump to old system, fittings are: 31-374, 31-330 and 31-394

1шт.

This illustration shown the 18-504 pump which was standard equip along with 18-031 which is same pump except it had single inlet. The 18-504 pump has not been available for some time as a service replacement so any of the succeeding pumps could appear in this S/N break. See page 8-2 for a chart showing a list of pumps and adapters needed to work in this pipe system

1шт.

5

31-265

SPARE PART ADAPTER

1шт.

6

32-130

CLAMP,1.40"-1.56", T-Bolt

2шт.

7

32-124

SPARE PART

1шт.

8

32-048

HOSE

1шт.

9

31-348

FITTING

ADAPTER

1шт.

10

31-53

COUPLING

1шт.

11

31-372

SPARE PART KING NIPPLE

1шт.

12

31-48

ELBOW

1шт.

13

31-70

PIPE, pressure

1шт.

14

1-99

SPARE PART Suction

1шт.

15

31-298

SPARE PART TEE

1шт.

16

31-373

PIPE

KING NIPPLE

1шт.

17

32-135

CLAMP,#44, 2.25"-2.56", T-Bolt

1шт.

18

5-107

SPARE PART

1шт.

19

31-374

FITTING

ADAPTER

1шт.

20

18-5

VALVE

STEERING (see figure 8-15)

1шт.

21

31-383

PIPE

ADAPTER

4шт.

22

31-135

UNION

TEE

2шт.

23

18-12

VALVE

Relief

1шт.

24

31-563

ADAPTER

2шт.

25

32-41

SPARE PART 1/2" x 24"

2шт.

26

32-47

SPARE PART 1/2" x 120"

1шт.

27

32-42

HOSE

1/2" x 32"

2шт.

28

31-43

ELBOW

4шт.

29

31-161

SPARE PART

4шт.

30

32-43

SPARE PART 1/2" x 42-1/2"

2шт.

31

31-468

UNION

ADAPTER, 1/2"

7шт.

32

31-7

TEE,1/2"-14 Female

2шт.

33

32-40

SPARE PART 1/2" x 20"

2шт.

34

4-158

HOSE

1-1/2"

1шт.

35

31-373

PIPE

KING NIPPLE, 1-1/2"

2шт.

36

31-48

ELBOW

1-1/2"

2шт.

37

31-18

REDUCER

1шт.

Part used when 1/2" hoses were used on 69 and some 70 models

1шт.

38

31-98

X

ADAPTER

1шт.

31-430

ADAPTER

1шт.

Part used when 1/2" hoses were used on 69 and some 70 models

1шт.

39

32-57

SPARE PART 3/4" x 21"

2шт.

32-40

SPARE PART 1/2" x 20"

2шт.

Part used when 1/2" hoses were used on 69 and some 70 models

1шт.

40

31-327

ADAPTER

w/SAE 12 male

1шт.

31-246

SPARE PART ADAPTER, 3/4" pipe on male end

1шт.

Part used when 1/2" hoses were used on 69 and some 70 models

1шт.

41

CONTROL VALVE, see parts breakdown

1шт.

The 2 Mono Block Gresen, 18-026 and 18-027, and the 18-452 cross valve were standard equip, however some tractors may have been field changed to the Series II Multiple Bank Valve.

1шт.

42

31-430

ADAPTER (only on Gresen w/1/2" pipe thread)

1шт.

31-383

PIPE

ADAPTER (valves w/SAE 8 ports)

1шт.

31-109

SPARE PART (Valves w/SAE 10 ports) (replaces 31-568)

1шт.

43

32-46

HOSE

1/2" x 108"

1шт.

QUICK COUPLER (see figure 8-30) consists of ref. nos. 44-45

1шт.

46

31-35

PLUG

PIPE

1шт.

47

31-28

SCREW

1-1/2"

3шт.

48

FILTER ASSY. (see figure 8-18)

1шт.

49

31-220

ADAPTER

3/4" (if Ref. 39 is 1/2" hose, a 31-395 bushing is needed)

1шт.

50

31-395

REDUCER,3/4"-14 Male NPTF x 1/2"-14 Female NPTF

BUSHING

1шт.

51

31-68

SPARE PART TEE

1шт.

52

4-93

TANK, HYDRAULIC OIL

1шт.

31-245

COVER

ASSY., consists of ref. nos. 53-56

1шт.

53

31-133

GASKET

1шт.

54

31-132

CAP

COVER

1шт.

55

31-73

BUSHING

1шт.

56

31-149

BREATHER

VENT

1шт.

55

31-468

UNION

ADAPTER (used w/31-395 bushing)

1шт.

Part used when 1/2" hoses were used on 69 and some 70 models

1шт.

31-436

PIPE

ADAPTER, SAE 12 male

1шт.

Выбрано товаров: 70