Запчасти Case IH STEIGER (03-02) - AIR CONDITIONING GROUP - SERIES II & LATE SERIES I (03) - Climate Control

Схема запчастей Case IH STEIGER - (03-02) - AIR CONDITIONING GROUP - SERIES II & LATE SERIES I (03) - Climate Control
26
8
23
3
12
36
14
12
2
10
12
30
8
22
37
25
18
5
28
32
1
9
4
2
27
4
12
31
17
29
13
7
15
34
20
21
12
35
6
16
19
33
11
24
FIT
1:1
100%

Артикул

Название

Примечание

Количество

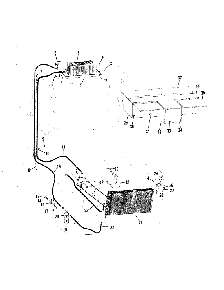
1

25-197

ISOLATOR

DRAIN PAN W/INSULATION

1шт.

2

19-481

SERRATED NUT

10шт.

3

463-41012

SCREW,Slot Hex Wash Hd, #10-24 x 3/4"

6шт.

4

19-572

SCREW,Sl Pan Hd, #10 - 32 x 1/2", Gr 5

10шт.

2-1722

COIL

EVAPORATOR & VALVE ASSY., consists of Ref. 5 and 6

1шт.

5

25-270

COIL

evaporator

1шт.

6

25-55

VALVE

expansion

1шт.

7

25-260

TEE

2шт.

8

25-201

HOSE

2шт.

9

19-267

SELF-TAP SCREW,Hex Wshr Hd, 1/4" - 20 x 1"

SCREW

4шт.

10

64-85

CLIP

hose

4шт.

11

25-306

HOSE ASSY.

1шт.

12

SEE COMPRESSORS & MTS. figures 3-3 & 3-6

1шт.

13

25-321

SWITCH

low pressure

1шт.

14

25-257

GASKET

copper

2шт.

15

25-371

TEE

1шт.

16

25-195

RECEIVER DRIER

1шт.

17

CONNECTOR (is part of #14)

1шт.

18

25-220

SWITCH

high pressure

1шт.

19

25-303

HOSE ASSY.

1шт.

20

25-122

X

CLAMP, drier

2шт.

21

25-196

CONDENSER (also can use 02-3370T1) 3/8"-24, G5, Thk

1шт.

22

25-304

X

HOSE ASSY.

1шт.

23

25-305

HOSE ASSY.

1шт.

24

19-17

BOLT,Hex, 3/8" - 16 x 1", Gr 5, Full Thd

CAPSCREW

4шт.

25

25-200

BRKT., condenser mt.

4шт.

26

19-224

WASHER,3/8", SAE

4шт.

27

19-78

SPECIAL NUT,3/8"-16, G5

4шт.

28

19-117

LOCK WASHER,3/8"

3/8"

4шт.

29

25-265

FOAM

INSULATION, side

2шт.

30

25-266

INSULATION, floor 3/8"-16, G5, High

2шт.

31

25-267

FOAM

INSULATION, door

1шт.

32

25-264

NUT,1/4"-20, G5, High

INSULATION, plenum chamber

2шт.

33

25-258

FOAM

INSULATION, floor front

1шт.

34

25-263

FOAM

INSULATION, front panel

1шт.

35

25-268

NUT,1/2"-13, G5, High

INSULATION, inside top air filter

2шт.

36

25-262

FOAM

INSULATION, top front

1шт.

37

25-261

FOAM

INSULATION, top rear

1шт.

Выбрано товаров: 0