Запчасти Case IH STEIGER 335 (06-44) - POWER SHIFT TRANSMISSION - REAR HOUSING (06) - POWER TRAIN

Схема запчастей Case IH STEIGER 335 - (06-44) - POWER SHIFT TRANSMISSION - REAR HOUSING (06) - POWER TRAIN
2
8
15
7
8
14
6
3
6
11
5
17
19
4
12
12
6
16
11
9
13
4
18
1
FIT
1:1
100%

Артикул

Название

Примечание

Количество

87546434

TRANSMISSION

TRANSMISSION, 8.0C Yoke

1шт.

87546434R

REMAN-TRANSMISSION

Remanufactured TRANSMISSION, POWERSHIFT - 7C (6.375 inches) and 8C (8.5 inches) Yoke Machine - Models STX280/330; STX380/430/480 Std Duty; Steiger 335; Steiger 385/435/485 Std Duty. ASN Z6F105039 ONLY, Start Serial: Z6F105039

1шт.

87546434C

CORE-TRANSMISSION

Return Number

1шт.

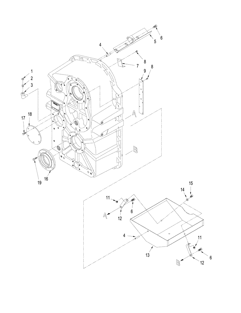
1

428156A1

PLUG

1шт.

2

427524A1

BREATHER

1шт.

3

370632A1

TUBE

Breather

1шт.

4

838-51040

LOCK PIN,M10 x 40, Slotted

2шт.

5

87350473

GUTTER

Oil

1шт.

6

514-842

BOLT,Hex, M12 x 1.25 x 25mm, Cl 8.8, Full Thd

2шт.

7

370634A1

TROUGH

Second

1шт.

8

614-6012

BOLT,Hex, M6 x 1 x 12mm, Cl 8.8, Full Thd

9шт.

9

370635A2

BAFFLE

Air

1шт.

10

87350466

TRANSMISSION HOUSING

Rear

1шт.

11

825-11410

NUT,M10 x 1.25, Cl 8

2шт.

12

370637A1

BRACKET

Mounting, Oil Baffle

2шт.

13

87350496

BAFFLE

Transmission Oil

1шт.

14

895-11010

WASHER,11mm ID x 20mm OD x 2mm Thk

2шт.

15

514-703

BOLT,Hex, M10 x 1.25 x 20mm, Cl 8.8, Full Thd

2шт.

16

87350470

RETAINER

Rear, Output

1шт.

17

838-51045

LOCK PIN,M10 x 45, Slotted

6шт.

18

87350468

COVER

Rear, Fourth

1шт.

19

514-730

BOLT,Hex, M10 x 1.25 x 35mm, Cl 8.8, Full Thd

6шт.

Выбрано товаров: 22