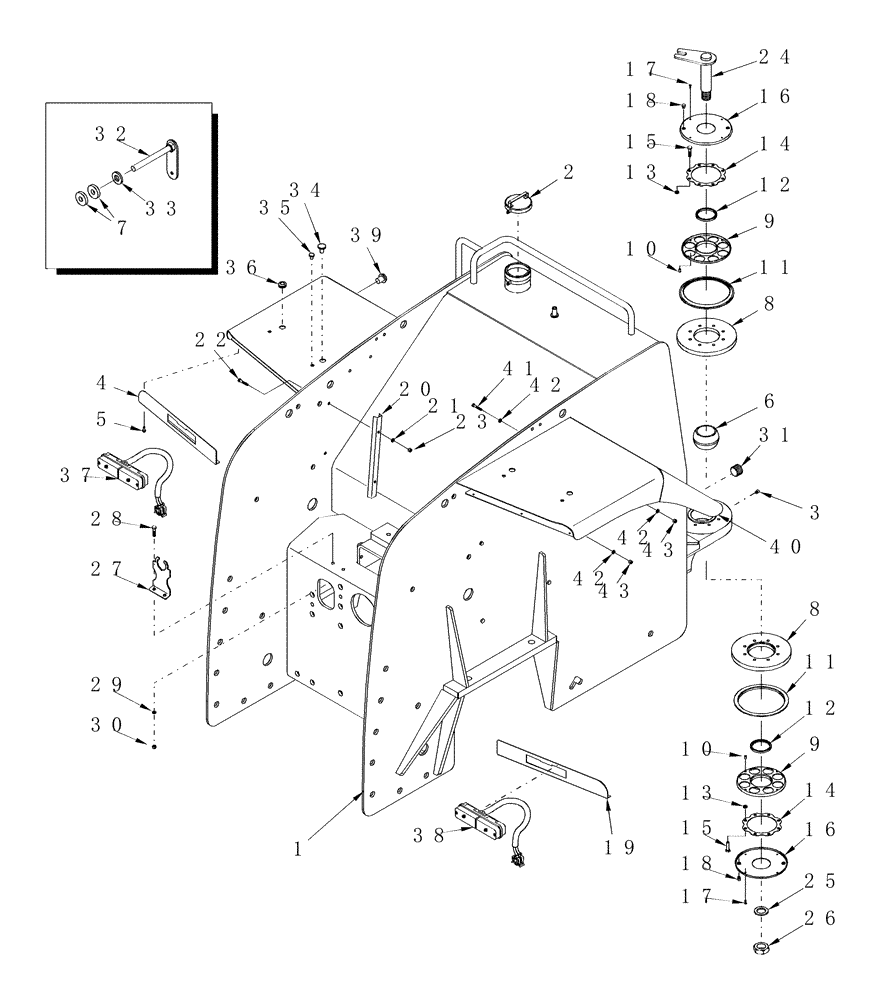
Запчасти Case IH STEIGER 335 (09-36) - REAR FRAME (09) - CHASSIS

Схема запчастей Case IH STEIGER 335 - (09-36) - REAR FRAME (09) - CHASSIS
11
37
7
43
4
28
23
8
42
30
27
34
25
36
41
10
10
9
13
15
40
15
6
29
3
26
22
1
16
35
12
24
42
21
17
20
18
14
17
9
18
11
2
12
16
19
43
5
8
38
14
31
39
42
33
13
32
FIT
1:1
100%

Артикул

Название

Примечание

Количество

1

87552544

FRAME

Rear, without Bolt-on Fender, Serial Range: -Z9F112948

1шт.

1

84133887

FRAME

Rear, with RH Bolt-on Fender, Start Serial: Z9F112948

1шт.

2

87555106

LOCKABLE FUEL CAP

1шт.

3

219-36

LUBE NIPPLE,45 Degree Elbow, 1/8" - 27 NPTF

1шт.

4

417862A1

COVER

Fender, Left-Hand

1шт.

5

281-54712

SCREW,Hex Wshr Hd, 1/4" - 20 x 3/4"

6шт.

6

87311338

SPHERICAL BEARING,50.98mm ID x 120.64mm OD x 145.2mm W

Extended Spherical

1шт.

7

321232A1

BUSHING,11mm ID x 31mm OD x 6mm L

2шт.

8

330032A1

COVER

Retaining

2шт.

87365383

BEARING ASSY

Inc. 9 & 10

2шт.

9

NSS

NOT SOLD SEPARAT

Housing

1шт.

10

NSS

NOT SOLD SEPARAT

Spacer

8шт.

11

433478A1

SEAL

Outer Seal

2шт.

12

D95148

WIPER SEAL

2шт.

13

432444A1

SPACER

Retaining

16шт.

14

430250A1

RETAINER

Plate

2шт.

15

827-10040

BOLT,Hex, M10 x 1.5 x 40mm, Cl 10.9, Full Thd

16шт.

16

87365381

COVER

2шт.

17

163-47

SCREW,Hex, #10 - 32 x 1/2", Gr 5

8шт.

18

86643151

PLUG,Hex Hd, 1/8"-27 NPTF

4шт.

19

417863A1

COVER

Fender, Right-Hand

1шт.

20

330164A2

GUARD

Wire

2шт.

21

895-11008

WASHER,9mm ID x 16mm OD x 1.6mm Thk

8шт.

22

827-8045

BOLT,Hex, M8 x 1.25 x 45mm, Cl 10.9

4шт.

23

832-10408

NUT,M8 x 1.25, Cl 8.8

4шт.

24

87590638

PIN,50.8mm OD x 340mm L

Mounting, Rear Frame Lower Articulation Joint

1шт.

25

1-4088

WASHER,45mm ID x 69.9mm OD x 6.35mm Thk

1шт.

26

425-1528

JAM NUT,Jam, 1 3/4"-12, G5, Hvy

1шт.

27

402769A2

PLATE

Mounting, Implement Connector

1шт.

28

627-10030

BOLT,Hex, M10 x 1.5 x 30mm, Cl 10.9, Full Thd

2шт.

29

895-11010

WASHER,11mm ID x 20mm OD x 2mm Thk

2шт.

30

829-1408

NUT,Hex, M8 x 1.25, Cl 10.9

2шт.

31

384163A1

PLASTIC PLUG

1шт.

32

406390A1

HANDLE

Mounting, Articulation Lock

1шт.

33

896-15012

WASHER,13.5mm ID x 28mm OD x 4mm Thk

1шт.

34

353-422

PLUG,Dome, 1.250" hole, Nylon

2шт.

35

353-404

PLUG,Dome, .500" hole, Nylon

2шт.

36

87030421

GROMMET,3/8" ID x 1 1/4" Groove Dia, Str Cut

2шт.

37

429385A1

LAMP, WORK

LIGHT, WORK Tail, LH, See Figure: 04-27

1шт.

38

417788A1

LAMP, WORK

LIGHT, WORK Tail, RH, See Figure: 04-27

1шт.

39

353-403

PLUG,Dome, .437" hole, Nylon

4шт.

40

84143828

REAR FENDER

RH Bolt-on, Start Serial: Z9F112948

1шт.

41

827-12045

BOLT,Hex, M12 x 1.75 x 45mm, Cl 10.9, Full Thd

, Start Serial: Z9F112948

2шт.

42

896-15012

WASHER,13.5mm ID x 28mm OD x 4mm Thk

, Start Serial: Z9F112948

8шт.

43

832-10412

NUT,M12 x 1.75, Cl 8

, Start Serial: Z9F112948

5шт.

Выбрано товаров: 45