Запчасти Case IH STEIGER 335 (04-21) - HARNESS - ISO IMPLEMENT (04) - ELECTRICAL SYSTEMS

Схема запчастей Case IH STEIGER 335 - (04-21) - HARNESS - ISO IMPLEMENT (04) - ELECTRICAL SYSTEMS
5
10
14
18
2
6
8
17
1
13
12
11
3
15
4
9
7
16
FIT
1:1
100%

Артикул

Название

Примечание

Количество

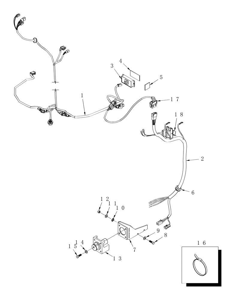
1

87701190

HARNESS

ISO Cab, Serial Range: -Z8F109858

1шт.

1

87723914

HARNESS

Autoguidance / ISO Cab / Autosense, Start Serial: Z8F109858

1шт.

2

87342623

HARNESS

ISO Chasis

1шт.

3

284638A2

ELEC CONNECTOR,4 Pin

Active Terminator

1шт.

4

406450A1

FASTENER

Dual Lock

1шт.

5

406449A1

FASTENER

Dual Lock

1шт.

6

328265A1

GROMMET

1шт.

7

87359272

BRACKET

Connector

1шт.

8

627-10035

BOLT,Hex, M10 x 1.5 x 35mm, Cl 10.9, Full Thd

2шт.

9

895-18010

WASHER,10.5mm ID x 18mm OD x 1.6mm Thk

2шт.

10

893-11010

LOCK WASHER,Ext Tooth, M10

2шт.

11

892-11010

LOCK WASHER,M10

2шт.

12

829-1410

NUT,M10 x 1.5, Cl 10.9

2шт.

13

87418273

ELEC CONNECTOR

Receptacle Box

1шт.

14

895-11006

WASHER,6.6mm ID x 12mm OD x 1.6mm Thk

4шт.

15

779-14625

SELF-TAP SCREW,Hex Hd, M6.3 x 25

4шт.

16

435437A1

CABLE TIE,3/16" x 7 1/4"

CABLE STRAP

11шт.

17

87605190

HARNESS

ACCUSTEER Adapter

1шт.

17

87601398

HARNESS

ISO Roof

1шт.

18

84172275

RELAY

High Power, 70A / 14V Sealed

1шт.

Выбрано товаров: 20