Запчасти Case IH STEIGER 370 (23.314.010) - DRIVE SHAFT ASSY, 8C (23) - FOUR WHEEL DRIVE SYSTEM

Схема запчастей Case IH STEIGER 370 - (23.314.010) - DRIVE SHAFT ASSY, 8C (23) - FOUR WHEEL DRIVE SYSTEM
19
9
3
14
14
14
6
16
19
2
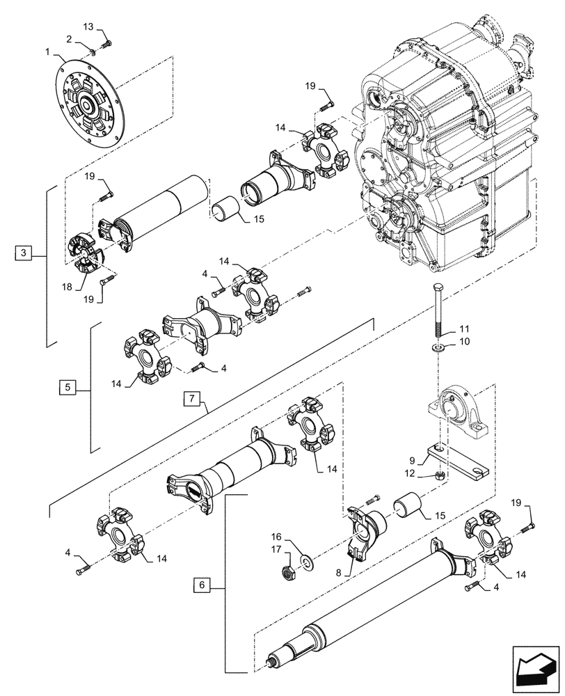
1
4
15
15
4
5
17
4
19
13
14
19
12
18
14
14
10
7
8
11
4
FIT
1:1
100%

Артикул

Название

Примечание

Количество

1

84146340

DAMPER

Torsional

1шт.

1

84146340R

REMAN-DAMPER

Reman Torsional

1шт.

1

84146340C

CORE-DAMPER

Core Return Number

1шт.

2

896-11012

WASHER,13.5mm ID x 24mm OD x 3mm Thk

6шт.

3

84202403

DRIVE SHAFT

Engine, Incl 14 - 15, 18 - 19

1шт.

4

827-12050

BOLT,Hex, M12 x 1.75 x 50mm, Cl 10.9

44шт.

5

84219450

DRIVE SHAFT

Front Axle, Incl 4, 14

1шт.

6

84302363

DRIVE SHAFT

Rear Axle, Incl 8, 14 - 17, 19, Serial Range: -ZGF308108

1шт.

6

47755880

DRIVE SHAFT

Rear Axle, Incl 8, 14 - 17, 19, Serial Range: ZGF308726-ZHF311715

1шт.

6

47985014

DRIVE SHAFT

Rear Axle, Incl 8, 14 - 17, 19, Start Serial: ZHF311716

1шт.

7

84221212

DRIVE SHAFT

Articulation, Incl 4, 14 - 15

1шт.

8

404451A1

YOKE

Driveshaft

1шт.

9

406056A1

SPACER

Pillow Block, Serial Range: -ZGF308108

1шт.

10

896-15020

WASHER,22mm ID x 44mm OD x 5mm Thk

2шт.

11

827-20250

BOLT,Hex, M20 x 2.5 x 250mm, Cl 10.9

2шт.

12

829-1420

NUT,M20, Cl 10

2шт.

13

47379837

BOLT

M12 x 30mm

6шт.

14

86000308

UNIVERSAL JOINT

U-Joint Spider

6шт.

15

404151A1

SEAL,76.2mm ID x 93.98mm OD x 11.68mm Thk

Drive Shaft Wiper

2шт.

16

86637815

WASHER,1.31" ID x 2.5" OD x 0.15" Thk

1шт.

17

86637649

LOCK NUT,1 1/4"-18

1шт.

18

431620A1

U-JOINT SPIDER

Engine

1шт.

19

87021759

BOLT,M12 x 1.75 x 60mm, Cl 10.9

12шт.

Выбрано товаров: 23