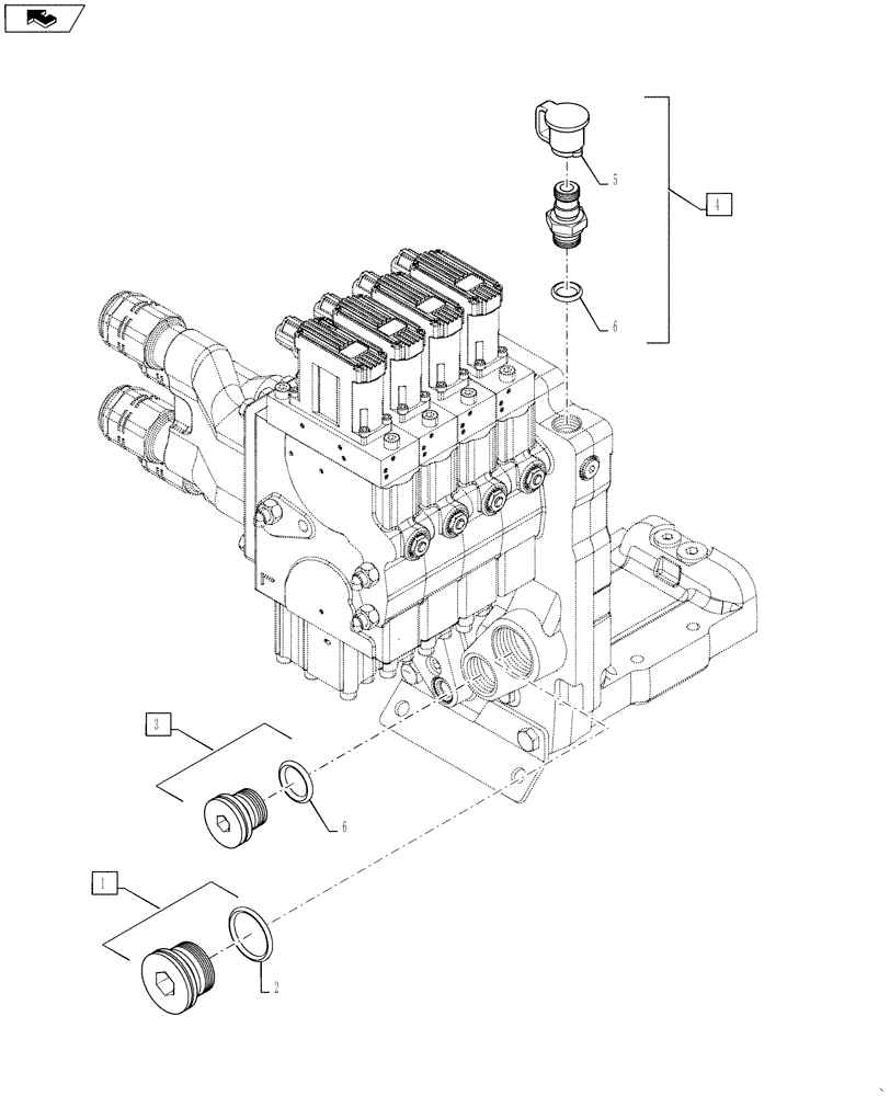
Запчасти Case IH STEIGER 400 (35.204.21) - MEGA/TWIN FLOW PLUGS (35) - HYDRAULIC SYSTEMS

Схема запчастей Case IH STEIGER 400 - (35.204.21) - MEGA/TWIN FLOW PLUGS (35) - HYDRAULIC SYSTEMS
4
2
home
3
6
6
5
1
FIT
1:1
100%

Артикул

Название

Примечание

Количество

1

221579A1

PLUG,M22 x 1.5 ORB

Incl 2

1шт.

2

637-63193

O-RING,2.2mm Thk x 19.3mm ID, Cl 6, 90 Duro

1шт.

3

221576A1

PLUG,Hex Soc, M14 x 1.5, ORB

Incl 6

1шт.

4

178889A1

DIAGNOSTIC COUPLER

Diagnostic, Incl 5 - 6

1шт.

5

H434163

DUST CAP

1шт.

6

637-63113

O-RING,2.2mm Thk x 11.3mm ID, Cl 6

2шт.

Выбрано товаров: 6