Запчасти Case IH STEIGER 400 (10.500.AD[01]) - DEF LINES - SCTR TANK PLUMBING (10) - ENGINE

Схема запчастей Case IH STEIGER 400 - (10.500.AD[01]) - DEF LINES - SCTR TANK PLUMBING (10) - ENGINE
37
28
16
29
35
35
15
21
19
27
25
32
11
19
10.500.ad 02
19
11
22
10.500.ad 02
4
8
8
36
21
1
30
29
30
10
34
26
18
14
21
11
10.500.aa 01
20
7
30
34
12
20
23
31
19
30
12
29
10.500.ac 01
11
29
5
24
6
11
26
2
home
33
17
13
9
18
3
FIT
1:1
100%

Артикул

Название

Примечание

Количество

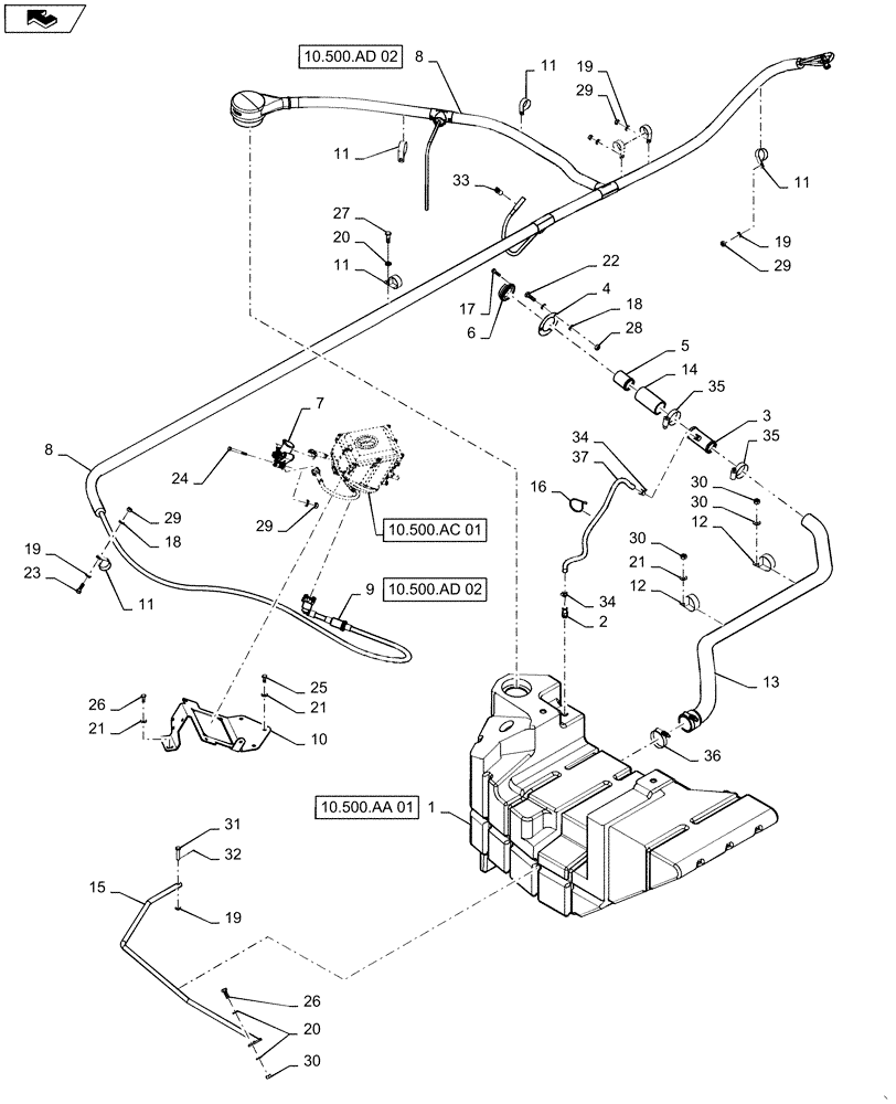
1

84425050

HOSE

DEF Tank Fill Vent

1шт.

2

84281937

FITTING

Male Connector Plastic Nipple

1шт.

3

84207724

TEE

DEF Fill Tee

1шт.

4

84315307

FILLER

1шт.

5

87483158

NECK FILLER

1шт.

6

84206552

FILLER CAP,Male

DEF Tank

1шт.

7

84151635

HEATER VALVE

Heater

1шт.

8

84351558

HOSE ASSY.

Diesel Exhaust Fluid (DEF) w/ Heating, W/O Suspended Cab, Incl 9

1шт.

8

84371117

HOSE ASSY.

Diesel Exhaust Fluid (DEF) w/ Heating, W/ Suspended Cab, Incl 9

1шт.

9

84263625

HOSE ASSY.

DEF Inline Filter Supply

1шт.

10

84346284

BRACKET, SUPPORTING

SCR SM

1шт.

11

515-23412

CLAMP,1 5/8", Insul, 3/8" Bolt

6шт.

12

515-25635

CLAMP,2 1/2", Insul, 1/2" Bolt

2шт.

13

84360581

HOSE

DEF Fill

1шт.

14

84360578

HOSE

DEF Fill

1шт.

15

84295126

BRACKET, SUPPORTING

SUPPORT DEF Tank

1шт.

16

L18331

CABLE TIE,375.9mm L, Nylon, Black

15 In

1шт.

17

87343623

HEX SOC SCREW,M4 x 12mm, Cl 8.8, Full Thd

M4 X 12 H-SOC 8.8 DOR

4шт.

18

895-11006

WASHER,6.6mm ID x 12mm OD x 1.6mm Thk

6шт.

19

895-11008

WASHER,9mm ID x 16mm OD x 1.6mm Thk

11шт.

20

895-11010

WASHER,11mm ID x 20mm OD x 2mm Thk

3шт.

21

895-15010

WASHER,11mm ID x 24mm OD x 2mm Thk

6шт.

22

627-6020

BOLT,Hex, M6 x 1 x 20mm, Cl 10.9, Full Thd

3шт.

23

627-8025

BOLT,Hex, M8 x 1.25 x 25mm, Cl 10.9, Full Thd

1шт.

24

827-8070

BOLT,Hex, M8 x 1.25 x 70mm, Cl 10.9

3шт.

25

844-8025

BOLT,Hvy Hex, M8 x 25mm, Cl 8.8

4шт.

26

627-10025

BOLT,Hex, M10 x 1.5 x 25mm, Cl 10.9, Full Thd

5шт.

27

627-10035

BOLT,Hex, M10 x 1.5 x 35mm, Cl 10.9, Full Thd

1шт.

28

829-1406

NUT,Hex, M6 x 1, Cl 10.9

3шт.

29

829-1408

NUT,Hex, M8 x 1.25, Cl 10.9

6шт.

30

829-1410

NUT,M10 x 1.5, Cl 10.9

3шт.

31

728-840

CLEVIS PIN,M8 x 40

1шт.

32

733-1616

COTTER PIN,M1.6 x 16

1шт.

33

214-1406

HOSE CLAMP,#06, 0.44" - 0.78", Type F Worm

2шт.

34

214-1712

HOSE CLAMP,17.53mm - 31.75mm

2шт.

35

214-3140

HOSE CLAMP,1-3/4" - 2-5/8", HD Worm

3шт.

36

L115549

CLAMP,69.85mm - 92.08mm

Hose Constant Torque

1шт.

Выбрано товаров: 37