Запчасти Case IH STEIGER 450 (50.206.03) - AIR CONDITIONER - CLEAN AIR HOUSING (50) - CAB CLIMATE CONTROL

Схема запчастей Case IH STEIGER 450 - (50.206.03) - AIR CONDITIONER - CLEAN AIR HOUSING (50) - CAB CLIMATE CONTROL
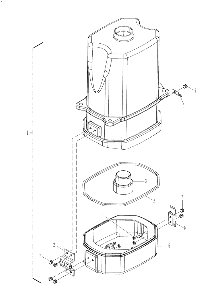
4
2
7
8
5
3
1
7
6
9
7
FIT
1:1
100%

Артикул

Название

Примечание

Количество

1

87596194

HOUSING

HVAC Clean Air - Incl 2 - 9

1шт.

2

319969A1

HINGE

Filter Housing

1шт.

3

307016A1

COUPLING

Filter

1шт.

4

307021A2

CLIP

Keeper Overcenter

1шт.

5

87598827

RUBBER SEAL,5.08mm W x 680mm L x 4.76mm Thk

Cab Air Cleaner Box

1шт.

6

87596190

HOUSING

Filter, Lower

1шт.

7

151-510

RIVET,Pop, 3/16" x .450"

7шт.

8

895-11005

WASHER,5.5mm ID x 10mm OD x 1mm Thk

7шт.

9

87596198

LATCH

Draw With Secondary Catch

1шт.

Выбрано товаров: 9