Запчасти Case IH STEIGER 485 (06-11) - UNDERCARRIAGE - MOUNTING, QUADTRAC TRACTOR (06) - POWER TRAIN

Схема запчастей Case IH STEIGER 485 - (06-11) - UNDERCARRIAGE - MOUNTING, QUADTRAC TRACTOR (06) - POWER TRAIN
29
23
3
8
7
34
29
31
16
11
7
35
31
15
16
32
1
25
6
19
2
9
17
28
16
4
7
14
33
20
7
7
30
12
16
12
7
17
24
13
5
27
14
7
10
22
18
26
12
21
7
32
11
34
FIT
1:1
100%

Артикул

Название

Примечание

Количество

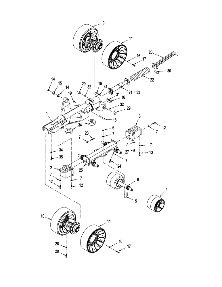
1

87326383

MOUNTING PARTS

Undercarriage

1шт.

2

389761A1

SUSPENSION

Rear, Rubber Mount

1шт.

2

389761A1R

SUSPENSION

Mount, Rear. Remanufactured

1шт.

2

389761A1C

SUSPENSION

Return Number

1шт.

3

389763A1

SUSPENSION

Front, Rubber Mount

1шт.

3

389763A1R

SUSPENSION

Mount, Front. Remanufactured

1шт.

3

389763A1C

SUSPENSION

Return Number

1шт.

4

87438307

WHEEL ASSY

Roller

6шт.

87309812

WHEEL ASSY

WHEEL ASSY.

1шт.

87309812R

REMAN-WHEEL ROLLER

Reman WHEEL ASSY.

1шт.

87309812C

CORE-WHEEL ROLLER

Return Number

1шт.

5

231765A1

U-BOLT,M16 x 2 x 30mm Threaded, x 80.2mm W

BOLT "U"

6шт.

6

832-46416

NUT,M16 x 2, Cl 8

12шт.

7

896-11016

WASHER,17.5mm ID x 30mm OD x 4mm Thk

22шт.

8

REF

INSTRUCTION

Roller Assy., Wheel, See Figure 06-14

1шт.

9

REF

INSTRUCTION

Axle Assy., Front Idler, See Figure 06-12

1шт.

10

REF

INSTRUCTION

Axle Assy., Rear Idler, See Figure 06-13

1шт.

11

87441100

WHEEL ASSY

Idler, Bolt-on

1шт.

11

87752138R

REMAN-WHEEL ROLLER

STEIGER 385, STEIGER 435, STEIGER 485, STEIGER 535 All (8/07-), Reman for New P/N 87441100

1шт.

11

87752138C

CORE-WHEEL ROLLER

Return Number

1шт.

12

627-16050

BOLT,Hex, M16 x 2 x 50mm, Cl 10.9, Full Thd

9шт.

13

827-16180

BOLT,Hex, M16 x 2 x 180mm, Cl 10.9

2шт.

14

87423203

SEAL

4шт.

15

87423204

BUSHING,57.25mm ID x 69.97mm OD x 47mm L

2шт.

16

896-11024

WASHER,26mm ID x 44mm OD x 5mm Thk

22шт.

17

827-24080

BOLT,Hex, M24 x 3 x 80mm, Cl 10.9

20шт.

18

827-20200

BOLT,Hex, M20 x 2.5 x 200mm, Cl 10.9

1шт.

19

832-46420

NUT,M20 x 2.5, Cl 8

1шт.

20

827-22140

BOLT,Hex, M22 x 2.5 x 140mm, Cl 10.9

2шт.

21

87304299

HYDRAULIC CYLINDER,60mm Rod, 228mm Stroke

Track Tension

1шт.

21

87304299R

REMAN-HYD CYLINDER

STEIGER 385, STEIGER 435, STEIGER 485, STEIGER 535, All 4WD TRACTOR, Track Tension (8/07-)

1шт.

21

87304299C

CORE-HYD CYLINDER

Return Number

1шт.

22

255729A1

SPRING

Track Tension

1шт.

23

627-16040

BOLT,Hex, M16 x 2 x 40mm, Cl 10.9, Full Thd

8шт.

24

827-16140

BOLT,Hex, M16 x 2 x 140mm, Cl 10.9

2шт.

25

408786A1

BEAM

Roller Wheel

1шт.

26

87436823

LINK ASSY.

Track Tension

1шт.

27

827-16110

BOLT,Hex, M16 x 2 x 110mm, Cl 10.9

2шт.

28

896-11022

WASHER,24mm ID x 44mm OD x 4mm Thk

2шт.

29

87324220

IDLE SHAFT

Pivot

2шт.

30

430710A1

PAD

1шт.

31

47534762

BOLT,Hex, M24 x 3 x 95mm, Cl 10.9

2шт.

32

87585083

SPACER

2шт.

33

87377667

SEAL KIT

Track Tension

1шт.

34

87669420

STOP,150mm OD x 68mm L

Suspension

2шт.

Выбрано товаров: 45