Запчасти Case IH STEIGER 485 (02-05) - RADIATOR MOUNTING AND FAN SHROUD, STEIGER 485 / 535 (02) - ENGINE

Схема запчастей Case IH STEIGER 485 - (02-05) - RADIATOR MOUNTING AND FAN SHROUD, STEIGER 485 / 535 (02) - ENGINE
3
23
20
5
7
3
16
17
1
11
4
14
4
5
2
18
28
26
5
12
home
12
24
22
11
6
21
15
25
8
5
19
14
13
9
10
5
27
9
FIT
1:1
100%

Артикул

Название

Примечание

Количество

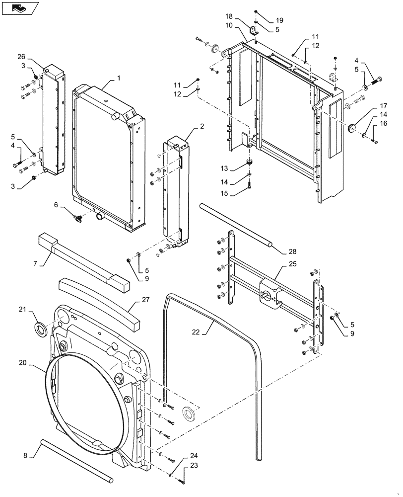
1

87434388

RADIATOR

Engine Coolant

1шт.

2

87389872

OIL COOLER

RH, Steiger 485 & 535

1шт.

3

238-6018

O-RING,0.07" Thk x 0.739" ID, -18, Cl 6, 90 Duro

4шт.

4

627-8020

BOLT,Hex, M8 x 1.25 x 20mm, Cl 10.9, Full Thd

14шт.

5

895-15008

WASHER,9mm ID x 20mm OD x 1.6mm Thk

46шт.

6

9672304

DRAINCOCK/TAP SUPPLY

1шт.

7

87303991

SEAL

Lower Radiator

1шт.

8

87303613

SEAL

Lower Shroud, 1235 mm (48-1/2")

1шт.

9

832-10408

NUT,M8 x 1.25, Cl 8.8

18шт.

10

87355485

SUPPORT

Frame

1шт.

11

832-10412

NUT,M12 x 1.75, Cl 8

4шт.

12

435433A1

WASHER,13.5mm ID x 44.5mm OD x 3mm Thick

13.5 x 44.5 x 3mm

4шт.

13

435465A1

RUBBER MOUNTING

Isolator

2шт.

14

896-11012

WASHER,13.5mm ID x 24mm OD x 3mm Thk

4шт.

15

827-12080

BOLT,Hex, M12 x 1.75 x 80mm, Cl 10.9

2шт.

16

827-12060

BOLT,Hex, M12 x 1.75 x 60mm, Cl 10.9

2шт.

17

CASL13142

BUSHING

Mount

2шт.

18

361250A1

BRACKET

Mounting, Upper Radiator Frame

2шт.

19

829-1408

NUT,Hex, M8 x 1.25, Cl 10.9

4шт.

20

87303558

SHROUD

Fan, 38", Serial Range: -Z8F110157

1шт.

STEIGER 535

1шт.

20

87470192

SHROUD

Fan, 38", Start Serial: Z8F110157

1шт.

STEIGER 535

1шт.

20

87392260

SHROUD

Fan, 38", Serial Range: -Z8F110157

1шт.

STEIGER 485

1шт.

20

87470194

SHROUD

Fan, 38", Start Serial: Z8F110157

1шт.

STEIGER 485

1шт.

21

328196A1

SEAL

Bulb

2шт.

22

87350512

SEAL

Upper Shroud, 3740 mm (147-1/4")

1шт.

23

627-10025

BOLT,Hex, M10 x 1.5 x 25mm, Cl 10.9, Full Thd

10шт.

24

895-15010

WASHER,11mm ID x 24mm OD x 2mm Thk

10шт.

25

87387463

BRACKET

Mounting, Hydraulic Fan

1шт.

26

87304000

OIL COOLER

LH, Steiger 485 & 535

1шт.

27

87438141

SEAL

Lower Radiator Frame

1шт.

28

87303612

SEAL

Upper Shroud, 1400 mm (55")

1шт.

Выбрано товаров: 35