Запчасти Case IH STEIGER 485 (09-37) - PUSH ARM ASSEMBLY (09) - CHASSIS

Схема запчастей Case IH STEIGER 485 - (09-37) - PUSH ARM ASSEMBLY (09) - CHASSIS
11
2
13
2
11
5
9
12
6
4
8
7
1
12
3
10
FIT
1:1
100%

Артикул

Название

Примечание

Количество

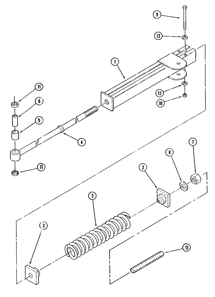
1

334215A2

ARM

Push

1шт.

2

334239A3

SLIDE

Spring

2шт.

3

334717A2

SPRING

1шт.

4

334720A5

ROD ASSY.

1шт.

5

334721A1

BUSHING

1шт.

6

360207A2

BUSHING

1шт.

7

832-10424

NUT,M24 x 3, Cl 8

1шт.

8

896-11024

WASHER,26mm ID x 44mm OD x 5mm Thk

1шт.

9

827-10130

BOLT,Hex, M10 x 1.5 x 130mm, Cl 10.9

2шт.

10

832-10410

NUT,M10 x 1.5, Cl 8

2шт.

11

G33955

WIPER SEAL,25.37mm ID x 38.13mm OD x 7.92mm Thk

2шт.

12

895-18010

WASHER,10.5mm ID x 18mm OD x 1.6mm Thk

4шт.

13

406328A1

CAP

Threaded

1шт.

Выбрано товаров: 13