Запчасти Case IH STEIGER 500 (88.005.01) - DIA KIT - FIRE EXTINGUISHER (88) - ACCESSORIES

Схема запчастей Case IH STEIGER 500 - (88.005.01) - DIA KIT - FIRE EXTINGUISHER (88) - ACCESSORIES
6
6
7
16
11
5
5
home
14
2
5
15
17
1
3
6
12
6
10
15
8
4
13
6
6
11
6
5
9
6
5
6
FIT
1:1
100%

Артикул

Название

Примечание

Количество

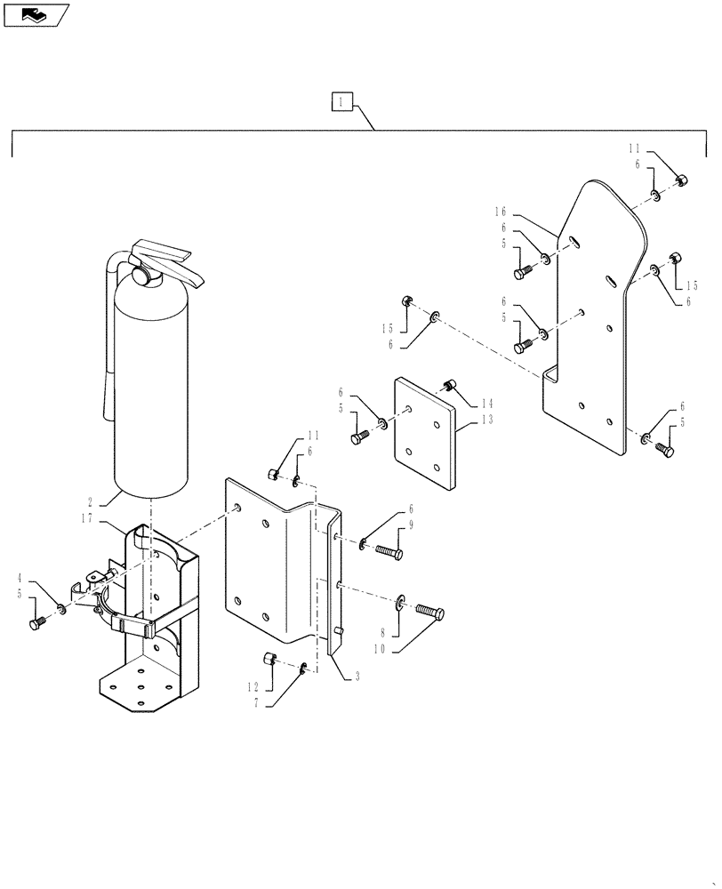
1

84306032

KIT

Fire Extinguisher

1шт.

2

87427311

FIRE EXTINGUISHER

10 Lb., 4A:60B:C

1шт.

3

84401638

BRACKET

1шт.

Steiger 350, 400, 450

1шт.

4

10571879

LOCK WASHER,10.2mm ID x 18.1mm OD x 2.2mm Thk

8шт.

Steiger 350, 400, 450

1шт.

QuadTrac

1шт.

4

895-11010

WASHER,11mm ID x 20mm OD x 2mm Thk

4шт.

Steiger 500, 550, 600

1шт.

5

627-10020

BOLT,Hex, M10 x 1.5 x 20mm, Cl 10.9, Full Thd

4шт.

Steiger 350, 400, 450

1шт.

5

627-10030

BOLT,Hex, M10 x 1.5 x 30mm, Cl 10.9, Full Thd

4шт.

QuadTrac

1шт.

5

627-10025

BOLT,Hex, M10 x 1.5 x 25mm, Cl 10.9, Full Thd

8шт.

Steiger 500, 550, 600

1шт.

6

895-11010

WASHER,11mm ID x 20mm OD x 2mm Thk

19шт.

7

895-18012

WASHER,13.5mm ID x 20mm OD x 2mm Thk

1шт.

Steiger 350, 400, 450

1шт.

8

895-15012

WASHER,M12 x 28 x 2.5

1шт.

Steiger 350, 400, 450

1шт.

9

627-10040

BOLT,Hex, M10 x 1.5 x 40mm, Cl 10.9, Full Thd

1шт.

Steiger 350, 400, 450

1шт.

10

627-12040

BOLT,Hex, M12 x 1.75 x 40mm, Cl 10.9, Full Thd

1шт.

Steiger 350, 400, 450

1шт.

11

832-10410

NUT,M10 x 1.5, Cl 8

3шт.

Steiger 350, 400, 450

1шт.

Steiger 500, 550, 600

1шт.

12

832-10412

NUT,M12 x 1.75, Cl 8

1шт.

Steiger 350, 400, 450

1шт.

13

84306976

BRACKET, SUPPORTING

1шт.

QuadTrac

1шт.

14

427218A1

INSERT

4шт.

QuadTrac

1шт.

15

829-1410

NUT,M10 x 1.5, Cl 10.9

6шт.

Steiger 500, 550, 600

1шт.

16

84307073

BRACKET, SUPPORTING

1шт.

Steiger 500, 550, 600

1шт.

17

87427312

BRACKET, SUPPORTING

1шт.

Выбрано товаров: 38