Запчасти Case IH STEIGER 535 (06-18) - DRIVE SHAFT (06) - POWER TRAIN

Схема запчастей Case IH STEIGER 535 - (06-18) - DRIVE SHAFT (06) - POWER TRAIN
13
26
20
10
6
21
5
12
2
1
24
14
11
25
9
4
7
22
10
15
17
8
18
23
14
9
13
19
16
3
FIT
1:1
100%

Артикул

Название

Примечание

Количество

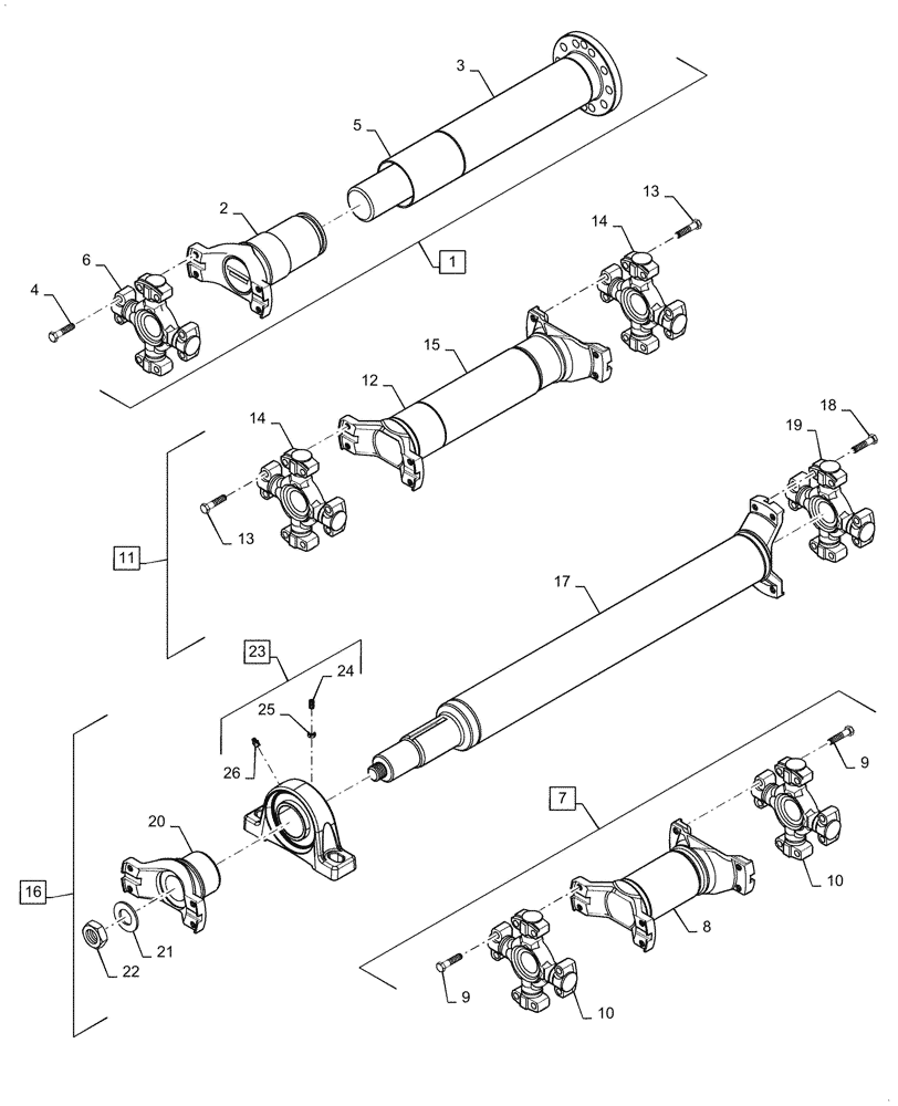
1

87440506

DRIVE SHAFT

Input, 8C, Inc. 1 - 6

1шт.

With Advanced Farming Systems (AFS)

1шт.

With 450 Series Axles

1шт.

1

87440505

DRIVE SHAFT

Input, 8,5C, Inc. 1- 6

1шт.

With Power Shift Transmission

1шт.

With 450 Series Axles

1шт.

1

87440503

DRIVE SHAFT

Input, 8,5C, Inc. 1 - 6

1шт.

With Power Shift Transmission

1шт.

With 500 Series Axles

1шт.

1

402189A1

DRIVE SHAFT

Input, 8.5C, Inc. 1 - 6

1шт.

With Power Shift Transmission

1шт.

STEIGER 535

1шт.

With 500 Series Axles

1шт.

2

NSS

NOT SOLD SEPARAT

Shaft, Slip Yoke

1шт.

3

NSS

NOT SOLD SEPARAT

Shaft, Flanged

1шт.

4

827-12050

BOLT,Hex, M12 x 1.75 x 50mm, Cl 10.9

4шт.

With 450 Series Axles

1шт.

4

827-12060

BOLT,Hex, M12 x 1.75 x 60mm, Cl 10.9

4шт.

With 500 Series Axles

1шт.

5

404151A1

SEAL,76.2mm ID x 93.98mm OD x 11.68mm Thk

1шт.

6

86000308

UNIVERSAL JOINT

Spider Assy., 8C

1шт.

With 450 Series Axles

1шт.

6

309093A1

UNIVERSAL JOINT

8,5C

1шт.

With 500 Series Axles

1шт.

7

402186A1

DRIVE SHAFT

Front Axle, 8C, Inc. 7 - 10

1шт.

With 450 Series Axles

1шт.

7

402191A1

DRIVE SHAFT

Front Axle, 8,5 C, Inc. 7 - 10

1шт.

With 500 Series Axles

1шт.

8

NSS

NOT SOLD SEPARAT

Shaft

1шт.

9

827-12050

BOLT,Hex, M12 x 1.75 x 50mm, Cl 10.9

8шт.

With 450 Series Axles

1шт.

9

827-12060

BOLT,Hex, M12 x 1.75 x 60mm, Cl 10.9

8шт.

With 500 Series Axles

1шт.

10

431621A1

BEARING ASSY

8C

2шт.

With 450 Series Axles

1шт.

10

309093A1

UNIVERSAL JOINT

8,5C

2шт.

With 500 Series Axles

1шт.

11

402187A1

DRIVE SHAFT

Articulation, 8C, Inc. 11 - 15

1шт.

With 450 Series Axles

1шт.

11

402192A1

DRIVE SHAFT

Articulation, 8,5C, Inc. 11 - 15

1шт.

With 500 Series Axles

1шт.

12

NSS

NOT SOLD SEPARAT

Shaft

1шт.

13

827-12050

BOLT,Hex, M12 x 1.75 x 50mm, Cl 10.9

8шт.

With 450 Series Axles

1шт.

13

827-12060

BOLT,Hex, M12 x 1.75 x 60mm, Cl 10.9

8шт.

With 500 Series Axles

1шт.

14

431621A1

BEARING ASSY

8C

2шт.

With 450 Series Axles

1шт.

14

309093A1

UNIVERSAL JOINT

8,5C

2шт.

With 500 Series Axles

1шт.

15

404151A1

SEAL,76.2mm ID x 93.98mm OD x 11.68mm Thk

1шт.

16

402188A1

DRIVE SHAFT

Rear Axle, 8C, Inc. 17 - 22

1шт.

With 450 Series Axles

1шт.

16

402193A1

DRIVE SHAFT

Rear Axle, 8,5C, Inc. 17 - 22

1шт.

With 500 Series Axles

1шт.

17

NSS

NOT SOLD SEPARAT

Shaft

1шт.

18

827-12050

BOLT,Hex, M12 x 1.75 x 50mm, Cl 10.9

4шт.

With 450 Series Axles

1шт.

18

827-12060

BOLT,Hex, M12 x 1.75 x 60mm, Cl 10.9

4шт.

With 500 Series Axles

1шт.

19

431621A1

BEARING ASSY

8C

2шт.

With 450 Series Axles

1шт.

19

309093A1

UNIVERSAL JOINT

8,5C

2шт.

With 500 Series Axles

1шт.

20

404451A1

YOKE

UNIVERSAL JOINT YOKE 8C

1шт.

With 450 Series Axles

1шт.

20

407633A1

YOKE

UNIVERSAL JOINT YOKE 8,5C

1шт.

With 500 Series Axles

1шт.

21

396-11131

WASHER,1 5/16" x 2 1/2" x .150"

1шт.

22

131-487

LOCK NUT,1 1/4"-18

1шт.

23

87385925

BEARING CARRIER,68.26mm ID

Pillow Block, Incl 24 - 26

1шт.

24

84-63812

SET SCREW,Hex Soc, 3/8"-24 x 3/4"

1шт.

25

425-146

JAM NUT,3/8" - 16, Gr 5

1шт.

26

219-1

LUBE NIPPLE,1/8" - 27 NPTF

1шт.

Выбрано товаров: 74