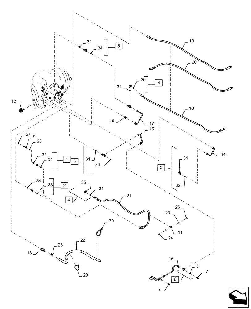
Запчасти Case IH STEIGER 540 (35.733.AC[06]) - REAR AXLE LUBRICATION LINES, W/ DIFFERENTIAL LOCK (35) - HYDRAULIC SYSTEMS

Схема запчастей Case IH STEIGER 540 - (35.733.AC[06]) - REAR AXLE LUBRICATION LINES, W/ DIFFERENTIAL LOCK (35) - HYDRAULIC SYSTEMS
10
27
7
20
6
24
31
31
5
17
22
30
34
31
16
21
14
18
33
35
25
29
1
34
32
23
5
15
35
34
31
9
19
4
8
31
28
26
3
31
32
11
4
31
13
2
12
FIT
1:1
100%

Артикул

Название

Примечание

Количество

1

700-102

HYD CONNECTOR,13/16" - 16 Male ORFS x M18 x 1.5 Male ORB

Incl 31 - 32

2шт.

2

700-103

HYD CONNECTOR,1" - 14 Male ORFS x M22 x 1.5 Male ORB

Incl 33 - 34

1шт.

3

700-305

ELBOW,90 Degree Elbow, 13/16" - 16 Male ORFS x M18 x 1.5 Male ORB

Incl 31 - 32

2шт.

4

700-332

ELBOW,90 Degree Elbow, 13/16" - 16 Male ORFS x M14 x 1.5 Male ORB

Incl 31, 35

1шт.

5

700-445

TEE,13/16" - 16 Male ORFS x 13/16" - 16 Male ORFS x M22 x 1.5 Male ORB

Incl 31, 34

3шт.

6

701-416

TEE,13/16" - 16 Male ORFS x 13/16" - 16 Male ORFS x 13/16" - 16 Female ORFS

Incl 31

3шт.

7

84513641

CHECK VALVE,M22 x 1.5 ORB x 13/16" - 16 ORFS

Check Relief

1шт.

8

84214146

FITTING

Adapter

1шт.

9

87400028

ORIFICE

Front Pinion Cover

2шт.

10

341195A1

ORIFICE

Orifice

1шт.

11

515-23206

CLAMP,13/16", Insul, 3/8" Bolt

2шт.

12

384977A1

VALVE

Solenoid

1шт.

13

390348A1

STEM

Hose

1шт.

14

84214260

TUBE

Axle Lube Crossover

2шт.

15

84214262

TUBE

Axle Lube Crossover

1шт.

16

84214264

TUBE

Axle Lube Crossover

1шт.

17

416697A1

TUBE

Tube Assembly

1шт.

18

84281557

HOSE ASSY.

Park Brake Pressure

1шт.

19

84249106

HOSE ASSY.

Service Brake, Rear

1шт.

20

84281558

HOSE ASSY.

Axle Lube Pressure

1шт.

21

84244577

HOSE ASSY.

Aux Drain

1шт.

22

353649A1

HOSE,1.00" ID x 56.00"

1шт.

23

895-11008

WASHER,9mm ID x 16mm OD x 1.6mm Thk

4шт.

24

627-8020

BOLT,Hex, M8 x 1.25 x 20mm, Cl 10.9, Full Thd

2шт.

25

829-1408

NUT,Hex, M8 x 1.25, Cl 10.9

2шт.

26

214-1520

HOSE CLAMP,#20, 0.81" - 1.75", Type F Worm, W/ Liner

2шт.

27

238-5011

O-RING,0.07" Thk x 0.301" ID, -11, Cl 5, 75 Duro

2шт.

28

238-5111

O-RING,0.103" Thk x 0.424" ID, -111, Cl 5, 75 Duro

2шт.

29

L18331

CABLE TIE,375.9mm L, Nylon, Black

Tie Hose

1шт.

30

440567A1

CABLE TIE

Tie Cable

1шт.

31

9992298

O-RING,0.07" Thk x 0.489" ID, -14, Cl 6, 90 Duro

12шт.

32

86598101

O-RING,2.2mm Thk x 15.3mm ID, Cl 6, 90 Duro

4шт.

33

9992069

O-RING,0.07" Thk x 0.614" ID, -16, Cl 6, 90 Duro

2шт.

34

86598102

O-RING,2.2mm Thk x 19.3mm ID, Cl 6, 90 Duro

5шт.

35

86598099

O-RING,2.2mm Thk x 11.3mm ID, Cl 6

2шт.

Выбрано товаров: 35