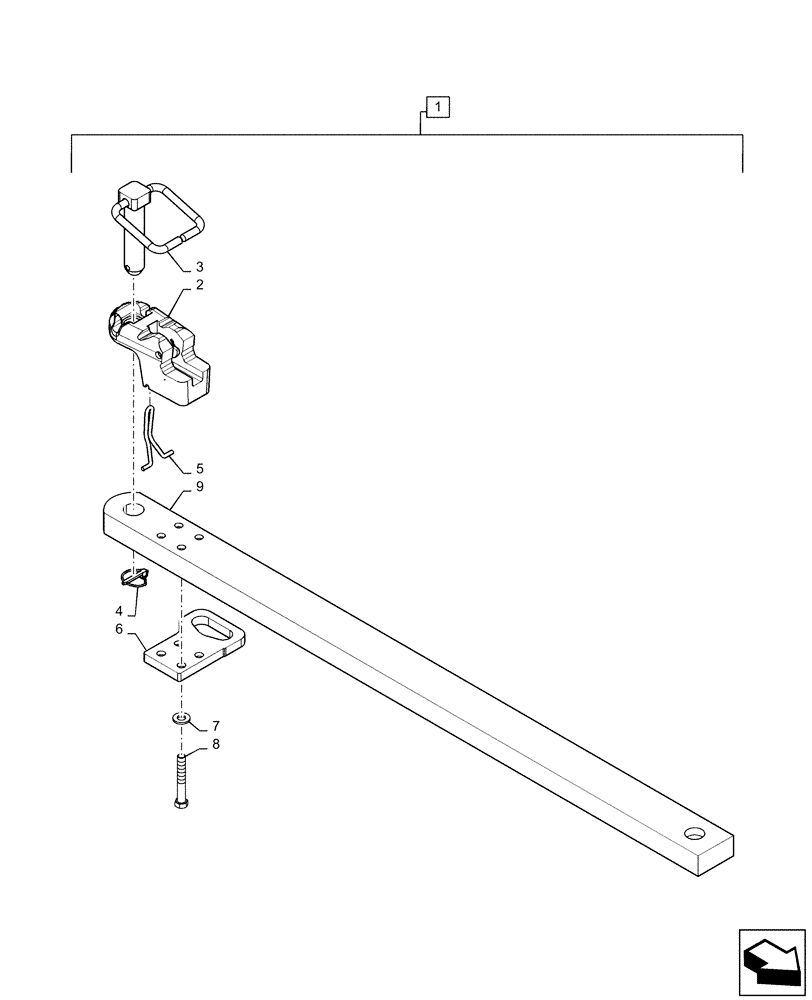
Запчасти Case IH STEIGER 580 (37.100.AA[04]) - HEAVY DUTY DRAWBAR ASSY (37) - HITCHES, DRAWBARS & IMPLEMENT COUPLINGS

Схема запчастей Case IH STEIGER 580 - (37.100.AA[04]) - HEAVY DUTY DRAWBAR ASSY (37) - HITCHES, DRAWBARS & IMPLEMENT COUPLINGS
2
9
8
3
6
1
4
5
7
FIT
1:1
100%

Артикул

Название

Примечание

Количество

1

87609236

DRAWBAR

Heavy Duty, Incl 2 - 9

1шт.

2

87615031

STRAP

Hammerstrap

1шт.

3

87615032

PIN,50.93mm OD x 243.3mm L

Drawbar, CAT IV

1шт.

4

87522067

LOCK PIN,11.5mm OD

Retaining

1шт.

5

375721A1

PIN

Drawpin Trigger

1шт.

6

87574391

STEEL PLATE

Safety Chain

1шт.

7

896-15020

WASHER,22mm ID x 44mm OD x 5mm Thk

4шт.

8

827-20140

BOLT,Hex, M20 x 2.5 x 140mm, Cl 10.9

4шт.

9

87564456

DRAWBAR

Heavy Duty

1шт.

Выбрано товаров: 9