Запчасти Case IH STEIGER 620 (55.035.AF[03]) - VAR - 424827 - REMOTE CONTROL VALVE SWITCH, 8 SPOOL (55) - ELECTRICAL SYSTEMS

Схема запчастей Case IH STEIGER 620 - (55.035.AF[03]) - VAR - 424827 - REMOTE CONTROL VALVE SWITCH, 8 SPOOL (55) - ELECTRICAL SYSTEMS
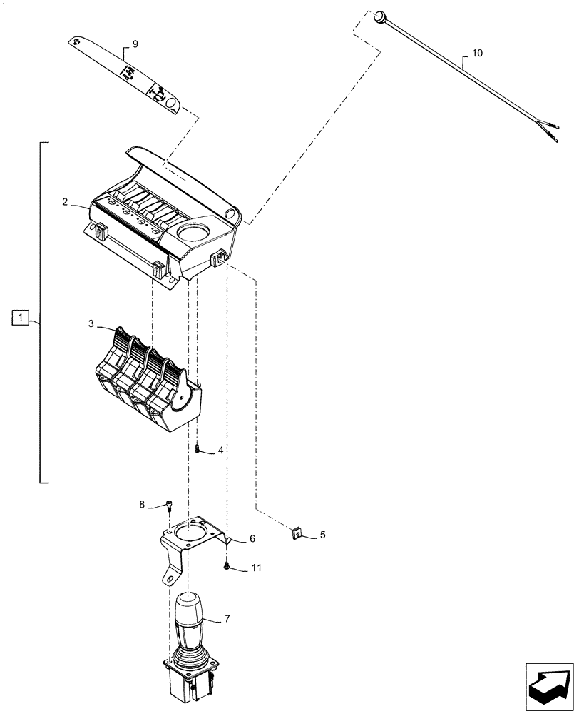
11
6
5
7
3
9
8
10
4
1
2
FIT
1:1
100%

Артикул

Название

Примечание

Количество

1

84202321

TOGGLE SWITCH

Rear Remote Controls, 8 Spool, Incl 2 - 4

1шт.

2

84228884

PANEL

Rear Remote Controls, 8 Spool

1шт.

3

87486098

ROCKER SWITCH

Rear Remote Controls

4шт.

4

50631

SCREW,Self Tapping, M6 x 0.5" OAL

8шт.

5

84148337

SPRING NUT

4.8

5шт.

6

84202338

BRACKET

Joystick

1шт.

7

84208738

JOYSTICK

Rear Remote, With Rocker Switch

1шт.

7

84208738R

REMAN-JOYSTICK

Rear Remote, With Rocker Switch

1шт.

7

84208738C

CORE-JOYSTICK

Return Number

1шт.

8

86639293

HEX SOC SCREW,M4 x 12mm, Cl 8.8

4шт.

9

84126448

DECAL

Rear Remote Control, With Joystick

1шт.

10

87485775

SWITCH ASSY

Joystick Float

1шт.

11

15687901

SELF-TAP SCREW,Cross Pan Hd, M4.2 x 9.50mm

2шт.

Выбрано товаров: 13