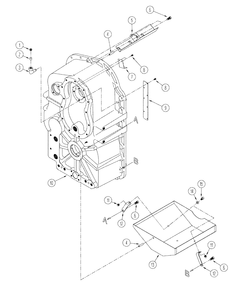
Запчасти Case IH STX275 (06-11) - TRANSMISSION REAR HOUSING (06) - POWER TRAIN

Схема запчастей Case IH STX275 - (06-11) - TRANSMISSION REAR HOUSING (06) - POWER TRAIN
4
8
8
7
1
9
5
4
11
14
15
2
11
12
10
3
6
12
13
6
6
FIT
1:1
100%

Артикул

Название

Примечание

Количество

1

33-1761T1

PLUG

1шт.

2

33-1454T1

BREATHER

1шт.

3

370632A1

TUBE

breather

1шт.

4

838-51045

LOCK PIN,M10 x 45, Slotted

2шт.

5

370633A1

TROUGH

1шт.

6

514-842

BOLT,Hex, M12 x 1.25 x 25mm, Cl 8.8, Full Thd

4шт.

7

370634A1

TROUGH

second

1шт.

8

614-6012

BOLT,Hex, M6 x 1 x 12mm, Cl 8.8, Full Thd

9шт.

9

370635A1

COVER

air baffle

1шт.

10

370636A1

HOUSING

rear

1шт.

11

825-11410

NUT,M10 x 1.25, Cl 8

2шт.

12

370637A1

BRACKET

2шт.

13

392082A1

BAFFLE

transmission oil

1шт.

15

514-703

BOLT,Hex, M10 x 1.25 x 20mm, Cl 8.8, Full Thd

2шт.

14

895-11010

WASHER,11mm ID x 20mm OD x 2mm Thk

2шт.

Выбрано товаров: 0