Запчасти Case IH STX275 (02-19) - CYLINDER HEAD COVER 6TAA-8304 / 6TAA-9004 Emissions Certified Engine (02) - ENGINE

Схема запчастей Case IH STX275 - (02-19) - CYLINDER HEAD COVER 6TAA-8304 / 6TAA-9004 Emissions Certified Engine (02) - ENGINE
7
4
8
3
10
5
2
6
9
1
FIT
1:1
100%

Артикул

Название

Примечание

Количество

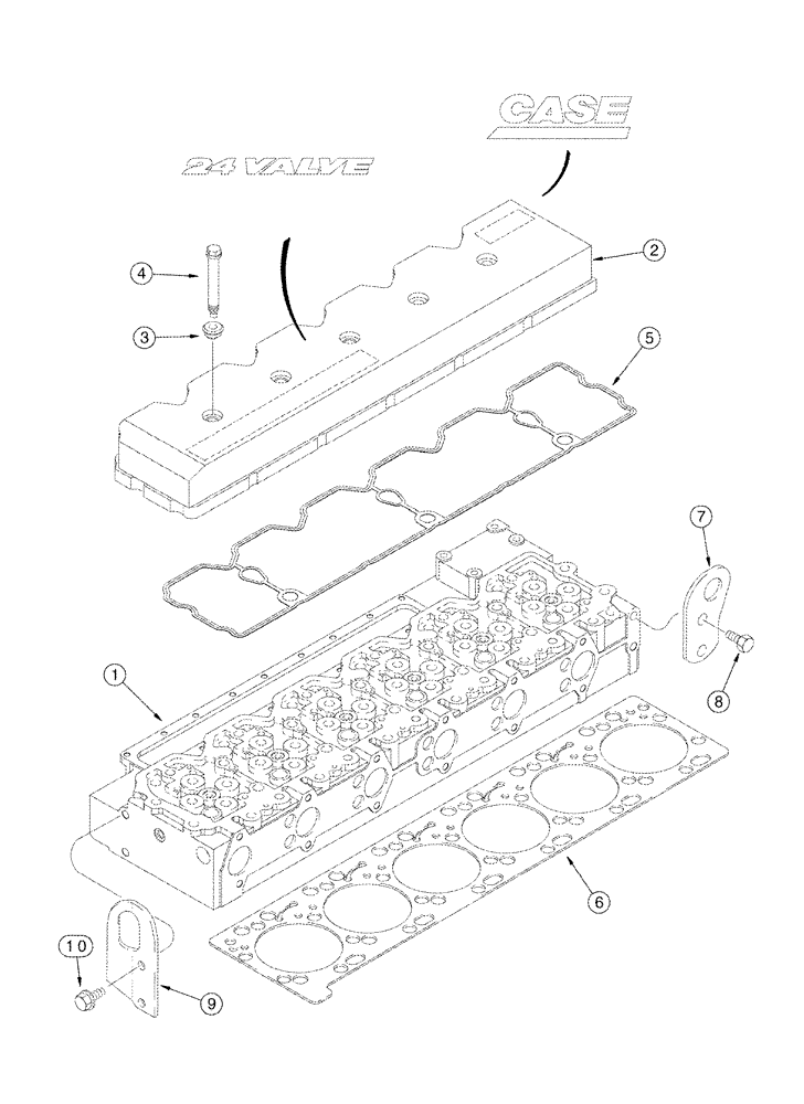
1

REF

INSTRUCTION

CYLINDER HEAD, See Page(s) 2-47

1шт.

2

J944677

VALVE COVER

1шт.

3

J942659

ISOLATOR

5шт.

4

J943719

SCREW,Hex Flg, M8 x 1.25 x 78.28mm, Cl 10.9

5шт.

5

J943303

GASKET

1шт.

6

J943366

CYLINDER HEAD GASKET,2.11mm Thk

1шт.

7

J944239

BRACKET

front

1шт.

8

614-12025

BOLT,Hex, M12 x 1.75 x 25mm, Cl 8.8, Full Thd

2шт.

9

J944290

BRACKET

rear

1шт.

10

844-12025

BOLT,Hvy Hex, M12 x 25mm, Cl 8.8

2шт.

Выбрано товаров: 10