Запчасти Case IH STX275 (09-36) - GRILLE (09) - CHASSIS

Схема запчастей Case IH STX275 - (09-36) - GRILLE (09) - CHASSIS
21
9
29
32
33
11
7
18
41
2
40
15
26
47
6
42
28
3
5
13
44
38
14
1
5
4
39
9
12
43
48
25
17
45
27
16
15
35
46
22
36
20
34
3
23
37
19
9
30
48
24
8
31
46
6
10
FIT
1:1
100%

Артикул

Название

Примечание

Количество

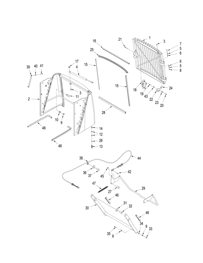
1

339908A2

GRILLE

1шт.

2

339911A2

SUPPORT

Grille Frame

1шт.

3

350662A1

STUD

2шт.

4

L129243

GAS STRUT,498mm Extended, 321mm Compressed

Gas Spring

1шт.

5

529761R1

BUSHING

4шт.

6

895-11008

WASHER,9mm ID x 16mm OD x 1.6mm Thk

4шт.

7

827-8060

BOLT,Hex, M8 x 1.25 x 60mm, Cl 10.9

2шт.

8

832-10408

NUT,M8 x 1.25, Cl 8.8

2шт.

9

896-11012

WASHER,13.5mm ID x 24mm OD x 3mm Thk

5шт.

10

429-107

NUT,7/16"-14, G8

1шт.

11

328534A1

BOLT

Striker

1шт.

12

895-15008

WASHER,9mm ID x 20mm OD x 1.6mm Thk

4шт.

13

F44935

BUMPER

2шт.

14

425-105

NUT,5/16"-18, G5

2шт.

15

352770A1

SEAL

Cut From 353729A1

2шт.

16

371448A1

SEAL

Cut From 90-2894T1

1шт.

17

825-51410

FLANGE NUT,M10, Flg Ser

1шт.

18

318159A1

LATCH

1шт.

19

895-11006

WASHER,6.6mm ID x 12mm OD x 1.6mm Thk

1шт.

20

829-1406

NUT,Hex, M6 x 1, Cl 10.9

M6; 10.9

1шт.

21

827-6040

BOLT,Hex, M6 x 40mm, Cl 10.9

2шт.

22

349426A2

LATCH

1шт.

23

349427A1

SPACER

1шт.

24

371802A1

BOOT

1шт.

25

352769A1

SEAL

Cut From 353729A1

1шт.

26

893-11008

LOCK WASHER,Ext Tooth, M8

1шт.

27

357893A1

SCREW

2шт.

28

370988A1

SEAL

Cut From 369741A1

1шт.

29

335018A3

ARM

Safety

1шт.

30

313973A2

ARM

Hood

1шт.

32

627-10020

BOLT,Hex, M10 x 1.5 x 20mm, Cl 10.9, Full Thd

2шт.

33

829-1412

NUT,M12, Cl 10.9

2шт.

34

316937A1

SPACER,12.2mm ID x 19.1mm OD x 14mm Thk

2шт.

35

827-12060

BOLT,Hex, M12 x 1.75 x 60mm, Cl 10.9

2шт.

36

S95569

WASHER

6шт.

37

627-12030

BOLT,Hex, M12 x 1.75 x 30mm, Cl 10.9, Full Thd

6шт.

38

515-2563

CLAMP,1/4", Insul, 1/2" Bolt

1шт.

39

356813A2

BRACKET, SUPPORTING

4шт.

40

895-25006

WASHER,6.6mm ID x 18mm OD x 1.6mm Thk

8шт.

41

627-6025

BOLT,Hex, M6 x 1 x 25mm, Cl 10.9, Full Thd

8шт.

42

627-6025

BOLT,Hex, M6 x 1 x 25mm, Cl 10.9, Full Thd

1шт.

43

832-10406

NUT,M6 x 1, Cl 8

1шт.

44

443297A1

CABLE,2363mm L

1шт.

Also order 445932A1 hood latch mounting plate for tractors BSN JEE0100144.

1шт.

45

832-10406

NUT,M6 x 1, Cl 8

1шт.

46

388554A1

GROMMET

127 mm (5 in.), Cut From 31-1785T1

2шт.

47

L106237

SPRING

1шт.

48

412557A1

SEAL

2шт.

31

895-15010

WASHER,11mm ID x 24mm OD x 2mm Thk

2шт.

Выбрано товаров: 49