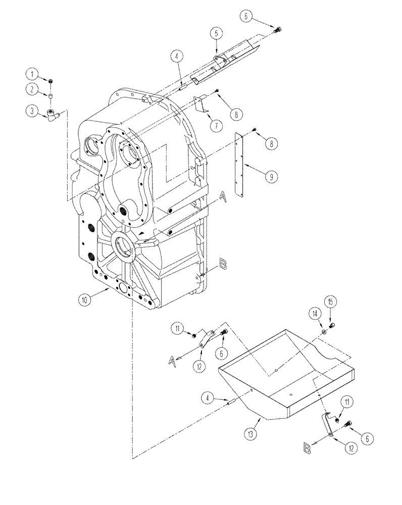
Запчасти Case IH STX325 (06-31) - POWER SHIFT TRANSMISSION - REAR HOUSING (06) - POWER TRAIN

Схема запчастей Case IH STX325 - (06-31) - POWER SHIFT TRANSMISSION - REAR HOUSING (06) - POWER TRAIN
11
5
11
12
8
7
13
12
4
3
8
6
6
14
2
6
15
9
1
4
10
FIT
1:1
100%

Артикул

Название

Примечание

Количество

1

428156A1

PLUG

1шт.

2

427524A1

BREATHER

1шт.

3

370632A1

TUBE

Breather

1шт.

4

838-51045

LOCK PIN,M10 x 45, Slotted

2шт.

5

370633A1

TROUGH

1шт.

6

514-842

BOLT,Hex, M12 x 1.25 x 25mm, Cl 8.8, Full Thd

4шт.

7

370634A1

TROUGH

Second

1шт.

8

614-6012

BOLT,Hex, M6 x 1 x 12mm, Cl 8.8, Full Thd

9шт.

9

370635A1

COVER

Air Baffle

1шт.

10

370636A1

HOUSING

Rear

1шт.

11

825-11410

NUT,M10 x 1.25, Cl 8

2шт.

12

370637A1

BRACKET

2шт.

13

392082A1

BAFFLE

Transmission Oil

1шт.

14

895-11010

WASHER,11mm ID x 20mm OD x 2mm Thk

2шт.

15

514-703

BOLT,Hex, M10 x 1.25 x 20mm, Cl 8.8, Full Thd

2шт.

Выбрано товаров: 15