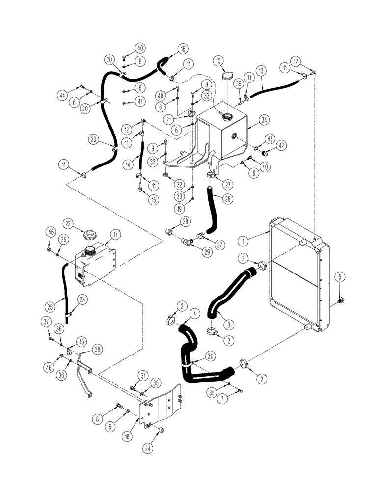
Запчасти Case IH STX325 (02-01) - RADIATOR - HOSES AND TUBES (02) - ENGINE

Схема запчастей Case IH STX325 - (02-01) - RADIATOR - HOSES AND TUBES (02) - ENGINE
35
39
11
7
46
11
36
20
37
12
32
17
8
31
27
11
42
11
22
44
29
6
19
24
35
40
2
15
30
45
20
6
11
16
43
14
9
36
33
9
4
2
6
6
40
11
26
38
25
6
28
2
23
3
20
6
12
40
36
27
5
6
41
10
33
2
1
13
46
34
33
21
18
FIT
1:1
100%

Артикул

Название

Примечание

Количество

1

321959A1

RADIATOR

1шт.

STX275

1шт.

1

259331A1

RADIATOR

1шт.

STX325

1шт.

2

L115548

CLAMP,57.15mm - 79.38mm

4шт.

3

313876A2

HOSE,57.10 mm ID x 427.00 mm, SAE J20 or SAE 20R4

Upper

1шт.

4

313877A2

HOSE,57.20 mm ID x 629.00 mm, SAE J20 or SAE 20R4 CLASS D1

Lower

1шт.

5

H434809

COCK, DRAIN

1/4

1шт.

6

895-11010

WASHER,11mm ID x 20mm OD x 2mm Thk

8шт.

7

627-12020

BOLT,Hex, M12 x 1.75 x 20mm, Cl 10.9, Full Thd

1шт.

8

827-10040

BOLT,Hex, M10 x 1.5 x 40mm, Cl 10.9, Full Thd

1шт.

10

90-7731T1

CAP

1шт.

11

214-1704

HOSE CLAMP,#04, 0.25" - 0.62", Type M Worm

6шт.

12

217-292

FITTING,90 Degree Elbow, 1/4" Hose Barb x 1/8" Male NPTF

2шт.

13

373653A1

HOSE,0.25" ID x 13.50"

Vent To Radiator, Cut From 31-1182

1шт.

14

31-2691

HOSE,6.4 mm ID x 228.60 mm

Engine Vent, Cut From A21561

1шт.

15

217-119

FITTING,1/4" Hose x 1/4" NPTF, Barbed

1/4 barb x 1/4 PT

1шт.

16

31-2835

FUEL HOSE

1489 mm (59 in.), Cut From 31-2855

1шт.

17

A184395

RESERVOIR

Coolant Recovery

1шт.

18

430216A1

BRACKET

Mounting

1шт.

19

829-1408

NUT,Hex, M8 x 1.25, Cl 10.9

1шт.

20

515-23143

CLAMP,9/16", Insul, 3/8" Bolt

4шт.

21

406622A1

LOCKING PLATE

1шт.

22

238903A1

FILLER CAP

1шт.

23

515-22127

CLAMP,1/2", Insul, 5/16" Bolt

1шт.

24

372947A1

SPACER

1шт.

25

31-3065

HOSE,0.28" ID x 16.00"

Overflow Bottle, 203 mm (8 in.), Cut From 87769CX

1шт.

26

373657A1

HOSE,19.10 mm ID x 351.00 mm

Engine Fill, Cut From 32-297

1шт.

27

214-1416

HOSE CLAMP,#16, 0.81" - 1.5", Type F Worm

2шт.

28

217-45

REDUCER,3/4" - 14 NPTF x 1/2" - 18 Fem NPTF

1шт.

29

217-185

FITTING,45 Degree Elbow, 3/4" Hose Barb x 1/2" Male NPTF

3/4 stem x 1/2 PT

1шт.

30

515-25635

CLAMP,2 1/2", Insul, 1/2" Bolt

1шт.

31

627-12025

BOLT,Hex, M12 x 1.75 x 25mm, Cl 10.9, Full Thd

2шт.

32

L45450

SPACER

2шт.

33

895-15008

WASHER,9mm ID x 20mm OD x 1.6mm Thk

1шт.

34

406651A1

RESERVOIR

Deaeration

4шт.

35

896-11012

WASHER,13.5mm ID x 24mm OD x 3mm Thk

3шт.

36

895-11008

WASHER,9mm ID x 16mm OD x 1.6mm Thk

6шт.

37

627-8020

BOLT,Hex, M8 x 1.25 x 20mm, Cl 10.9, Full Thd

6шт.

38

373057A2

BRACKET

1шт.

39

217-120

ELBOW,1/4" Hose Barb x 1/8" Male NPTF

1шт.

40

627-10025

BOLT,Hex, M10 x 1.5 x 25mm, Cl 10.9, Full Thd

6шт.

41

829-1410

NUT,M10 x 1.5, Cl 10.9

2шт.

42

406721A1

GAUGE

Level Indicator, 1/2", Inc. 43, Serial Range: -JEE0106298

1шт.

43

237-6008

O-RING,0.087" Thk x 0.644" ID, -908, Cl 6, 90 Duro

1шт.

44

627-10020

BOLT,Hex, M10 x 1.5 x 20mm, Cl 10.9, Full Thd

1шт.

45

515-2295

CLAMP,3/8", Insul, 5/16" Bolt

1шт.

46

832-10408

NUT,M8 x 1.25, Cl 8.8

6шт.

9

627-8025

BOLT,Hex, M8 x 1.25 x 25mm, Cl 10.9, Full Thd

3шт.

Выбрано товаров: 49