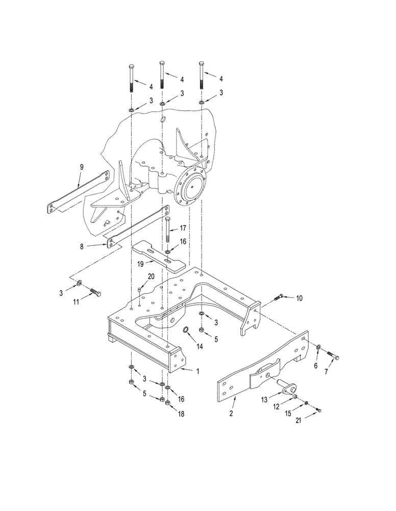
Запчасти Case IH STX375 (06-09) - YOKE MOUNTING, QUADTRAC TRACTOR, BSN JEE0106701 (06) - POWER TRAIN

Схема запчастей Case IH STX375 - (06-09) - YOKE MOUNTING, QUADTRAC TRACTOR, BSN JEE0106701 (06) - POWER TRAIN
FIT
1:1
100%

Артикул

Название

Примечание

Количество

1

408798A1

YOKE

1шт.

2

408799A1

PLATE ASSY.

Front

1шт.

3

896-11024

WASHER,26mm ID x 44mm OD x 5mm Thk

(26 ID x 44 x 5 mm)

22шт.

4

827-24270

BOLT,Hex, M24 x 3 x 270mm, Cl 10.9

12шт.

5

829-1424

NUT,M24, Cl 10

6шт.

6

496-31094

WASHER,15/16" x 1 3/4" x .219", HDN

6шт.

7

627-22060

BOLT,Hex, M22 x 2.5 x 60mm, Cl 10.9, Full Thd

M20 x 50; 10.9

6шт.

8

408800A1

STRAP

A Frame

1шт.

9

408801A1

STRAP

Frame

1шт.

10

627-20110

BOLT,Hex, M20 x 2.5 x 110mm, Cl 10.9, Full Thd

4шт.

11

627-24070

BOLT,Hex, M24 x 3 x 70mm, Cl 10.9, Full Thd

4шт.

12

70-5967T1

SPACER,16.7mm ID x 22.2mm OD x 11.2mm

2шт.

13

304876A1

PIN,44.34mm OD x 147mm L

2шт.

14

316630A2

WASHER,45mm ID x 102mm OD x 5mm Thk

2шт.

15

896-11016

WASHER,17.5mm ID x 30mm OD x 4mm Thk

2шт.

16

895-30103

WASHER,M16 x 56 x 5

4шт.

Used on Power Shift Models

1шт.

17

827-16250

BOLT,Hex, M16 x 2 x 250mm, Cl 10.9

2шт.

Used on Power Shift Models

1шт.

18

829-1416

NUT,M16, Cl 10

2шт.

Used on Power Shift Models

1шт.

19

87435928

PLATE

Steel Scraper

1шт.

Used on Power Shift Models

1шт.

20

87444730

CAP

Plug

24шт.

21

374835

BOLT,Hex, M16 x 2 x 40mm, Cl 10.9, Full Thd

2шт.

Выбрано товаров: 25