Запчасти Case IH STX375 (06-59) - POWER TAKEOFF - LUBRICATION, QUADTRAC TRACTOR, BSN JEE0102001 (06) - POWER TRAIN

Схема запчастей Case IH STX375 - (06-59) - POWER TAKEOFF - LUBRICATION, QUADTRAC TRACTOR, BSN JEE0102001 (06) - POWER TRAIN
8
14
12
4
16
6
9
17
10
11
16
3
13
7
18
19
14
2
15
20
1
15
5
4
19
20
19
FIT
1:1
100%

Артикул

Название

Примечание

Количество

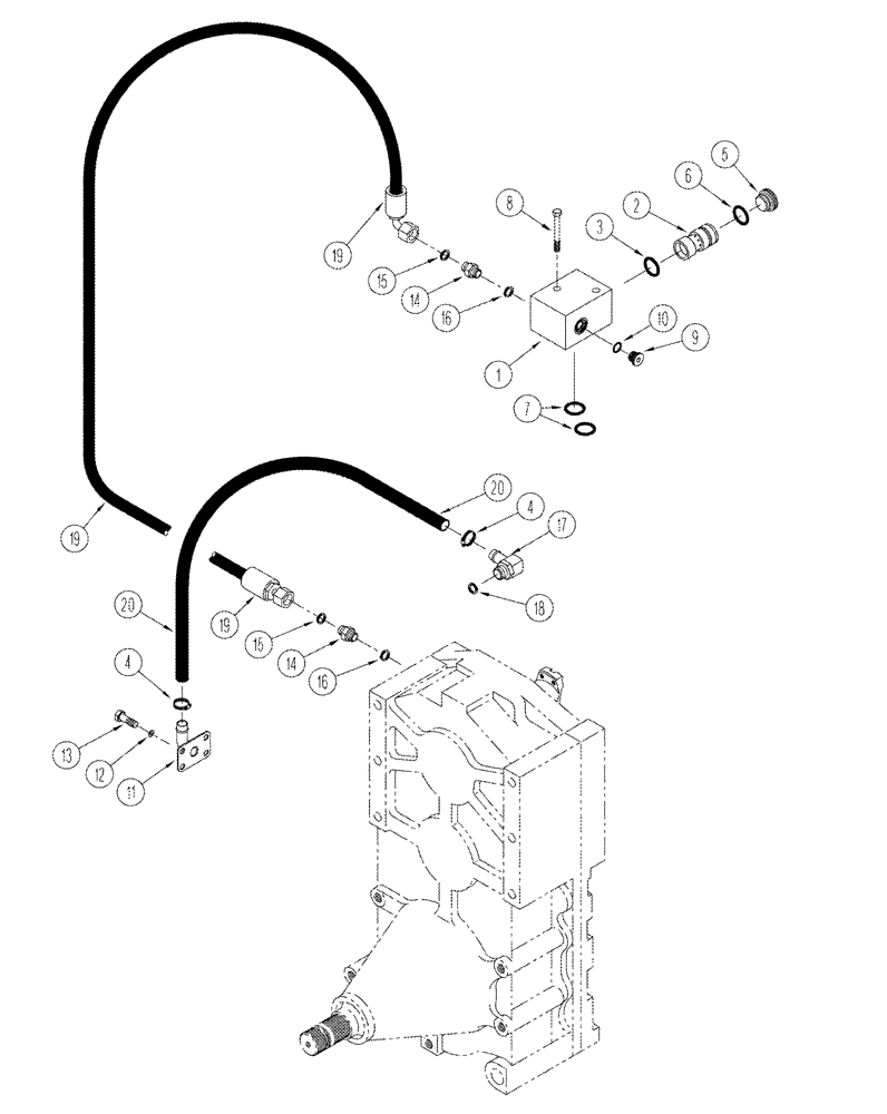
1

370157A1

BODY

Jet Pump

1шт.

2

347294A3

PUMP

Jet

1шт.

3

238-6017

O-RING,0.07" Thk x 0.676" ID, -17, Cl 6, 90 Duro

1шт.

4

214-1420

HOSE CLAMP,#20, 0.81" - 1.75", Type F Worm

2шт.

5

221580A1

PLUG,M27 x 2 ORB

Incl. 6

1шт.

6

637-64236

O-RING,2.9mm Thk x 23.6mm ID, Cl 6, 90 Duro

1шт.

7

638-53300

O-RING,2.65mm Thk x 30mm ID, Cl 5, 75 Duro

2шт.

8

827-10080

BOLT,Hex, M10 x 1.5 x 80mm, Cl 10.9

2шт.

9

221578A1

PLUG,M18 x 1.5 ORB

Incl. 10

1шт.

10

637-63153

O-RING,2.2mm Thk x 15.3mm ID, Cl 6, 90 Duro

1шт.

11

416087A1

TUBE

1шт.

12

895-11010

WASHER,11mm ID x 20mm OD x 2mm Thk

4шт.

13

627-10025

BOLT,Hex, M10 x 1.5 x 25mm, Cl 10.9, Full Thd

4шт.

14

700-102

HYD CONNECTOR,13/16" - 16 Male ORFS x M18 x 1.5 Male ORB

Incl. 15, 16

2шт.

15

238-6014

O-RING,0.07" Thk x 0.489" ID, -14, Cl 6, 90 Duro

1шт.

16

637-63153

O-RING,2.2mm Thk x 15.3mm ID, Cl 6, 90 Duro

1шт.

17

370246A1

ELBOW

M33 orb x 2,0, Incl. 18

1шт.

18

637-64296

O-RING,2.9mm Thk x 29.6mm ID, Cl 6, 90 Duro

1шт.

19

370252A2

HOSE

1161 mm (46 in)

1шт.

20

370250A1

HOSE

990 mm (39 in), Cut From S118383

1шт.

Выбрано товаров: 20